
| Item | Part No. | Part Name | Qty | Serial No. | 
| (708-25-20100) | HYDRAULIC PUMP ASS'Y,(HPV71+71) | 3001- | ||
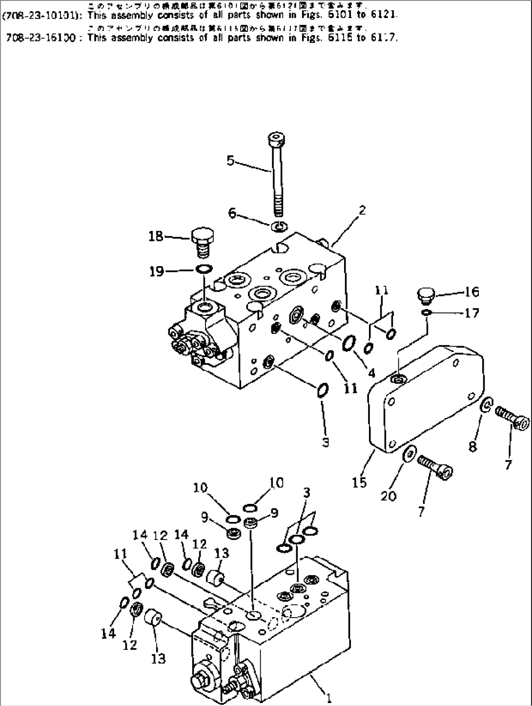
| THIS ASSEMBLY CONSISTS OF ALL PARTS SHOWN IN FIGS.6001 TO 6021. | ||||
| 708-25-26100 | SERVO VALVE ASS'Y,REAR | 3001- | ||
| THIS ASSEMBLY CONSISTS OF ALL PARTS SHOWN IN FIGS.6015 TO 6017. | ||||
| 1 | (708-25-26200) | VALVE SUB ASS'Y,SERVO, REAR | 3001- | |
| 2 | (708-25-27100) | VALVE ASS'Y,C.O. AND N.C. | 3001- | |
| 3 | 07000-02011 | O-RING | 3001- | |
| 4 | 07000-02018 | O-RING | 3001- | |
| 5 | 708-25-19160 | BOLT | 3001- | |
| 6 | 01602-20825 | WASHER,SPRING | 3001- | |
| 7 | 01252-30835 | BOLT | 3001- | |
| 8 | 01602-20825 | WASHER,SPRING | 3001- | |
| 9 | 720-68-11920 | FILTER | 3001- | |
| 10 | 07000-12010 | O-RING | 3001- | |
| 11 | 07000-11009 | O-RING | 3001- | |
| 12 | 720-68-11920 | FILTER | 3001- | |
| 13 | 708-25-19150 | ORIFICE | 3001- | |
| 14 | 07000-12010 | O-RING | 3001- | |
| 15 | 708-23-18241 | PLATE | 3001- | |
| 16 | 07040-11007 | PLUG | 3001- | |
| 17 | 07002-01023 | O-RING | 3001- | |
| 18 | 07040-11049 | PLUG | 3001- | |
| 19 | 07002-01423 | O-RING | 3001- | |
| 20 | 01643-30823 | WASHER | 3001- | 
