
| Item | Part No. | Part Name | Qty | Serial No. |
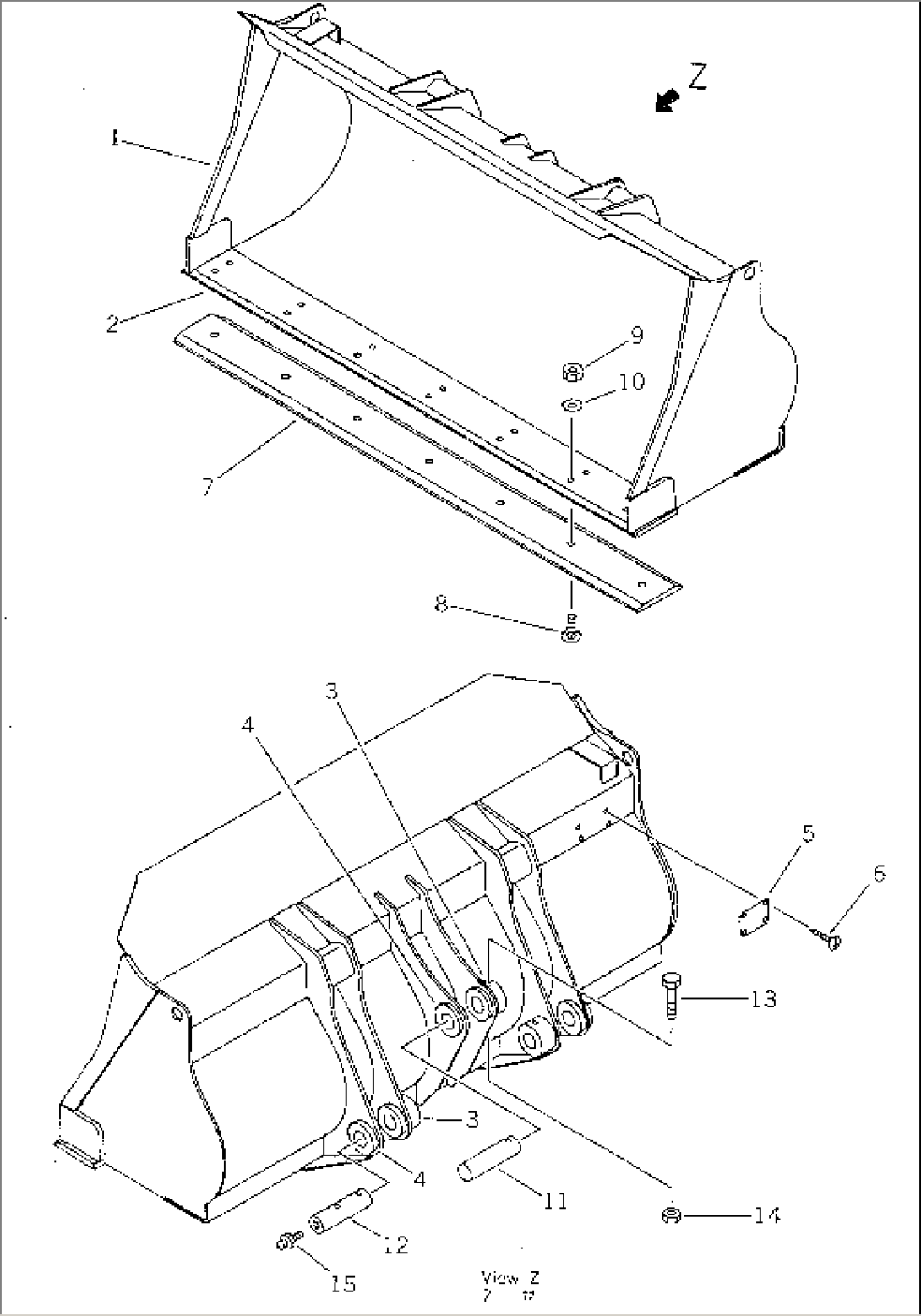
| G-1 | (\8\363-Z02-X210) | BUCKET GROUP,0.60M3 | 3001- | |
| ==================== | ||||
| 1 | 363-Z02-1210 | BUCKET,0.60M3 | 3001- | |
| 2 | 363-70-21162 | EDGE (WELDED) | 3001- | |
| 3 | 363-70-11170 | BOSS (WELDED) | 3001- | |
| 4 | 363-70-11180 | BOSS (WELDED) | 3001- | |
| 5 | 09601-00835 | PLATE, NAME,(LIMITED SUPPLY) | 3001- | |
| 6 | 04418-13060 | SCREW | 3001- | |
| ==================== | ||||
| G-2 | (\8\363-70-X2120) | CUTTING EDGE GROUP | 3001- | |
| ==================== | ||||
| 7 | 363-70-21190 | EDGE, 1690MM,CUTTING | 3001- | |
| 8 | 02090-11050 | BOLT | 3001- | |
| 9 | 02205-11015 | NUT | 3001- | |
| 10 | 01643-31645 | WASHER | 3001- | |
| ==================== | ||||
| G-3 | (\8\363-70-X2130) | BUCKET PIN GROUP,BUCKET | 3001- | |
| ==================== | ||||
| 11 | 363-70-11380 | PIN | 3001- | |
| 12 | 363-70-11220 | PIN | 3001- | |
| 13 | 01011-51000 | BOLT | 3001- | |
| 14 | 01598-01011 | NUT | 3001- | |
| 15 | 07020-00000 | FITTING,GREASE | 3001- | |
| ==================== |
