
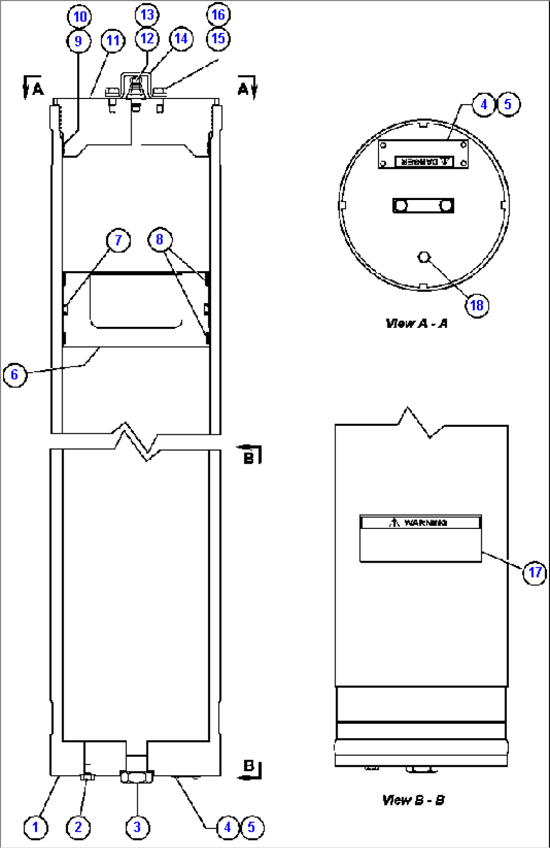
| Item | Part No. | Part Name | Qty | Serial No. |
| 1 | ED3828 | HOUSING | ||
| 2 | VM0313 | PLUG | ||
| 3 | VM0319 | PLUG | ||
| 4 | WA2988 | PLATE, WARNING | ||
| 5 | R1073 | SCREW, DRIVE - #6 | ||
| 6 | TZ0452 | PISTON | ||
| 7 | TJ1304 | RING, SEAL | ||
| 8 | PB6708 | BEARING | ||
| 9 | WA0265 | SEAL, O-RING | ||
| 10 | WA1265 | BACKER, O-RING | ||
| 11 | EC2252 | GLAND | ||
| 12 | PB2194 | VALVE, CHARGING | ||
| 12 | TR9993 | CAP | ||
| 12 | TD7179 | CORE, VALVE | ||
| 12 | WA0052 | O-RING - VALVE STEM | ||
| 12 | TF1144 | O-RING - HOUSING | ||
| 13 | VD5076 | GASKET, FLAT | ||
| 14 | TV1294 | GUARD | ||
| 15 | VN9014 | CAPSCREW - 3/8" - 16NC X 5/8" | ||
| 16 | C0312 | LOCKWASHER - 3/8" | ||
| 17 | TY5888 | DECAL, WARNING | ||
| 18 | VM0314 | PLUG |
