
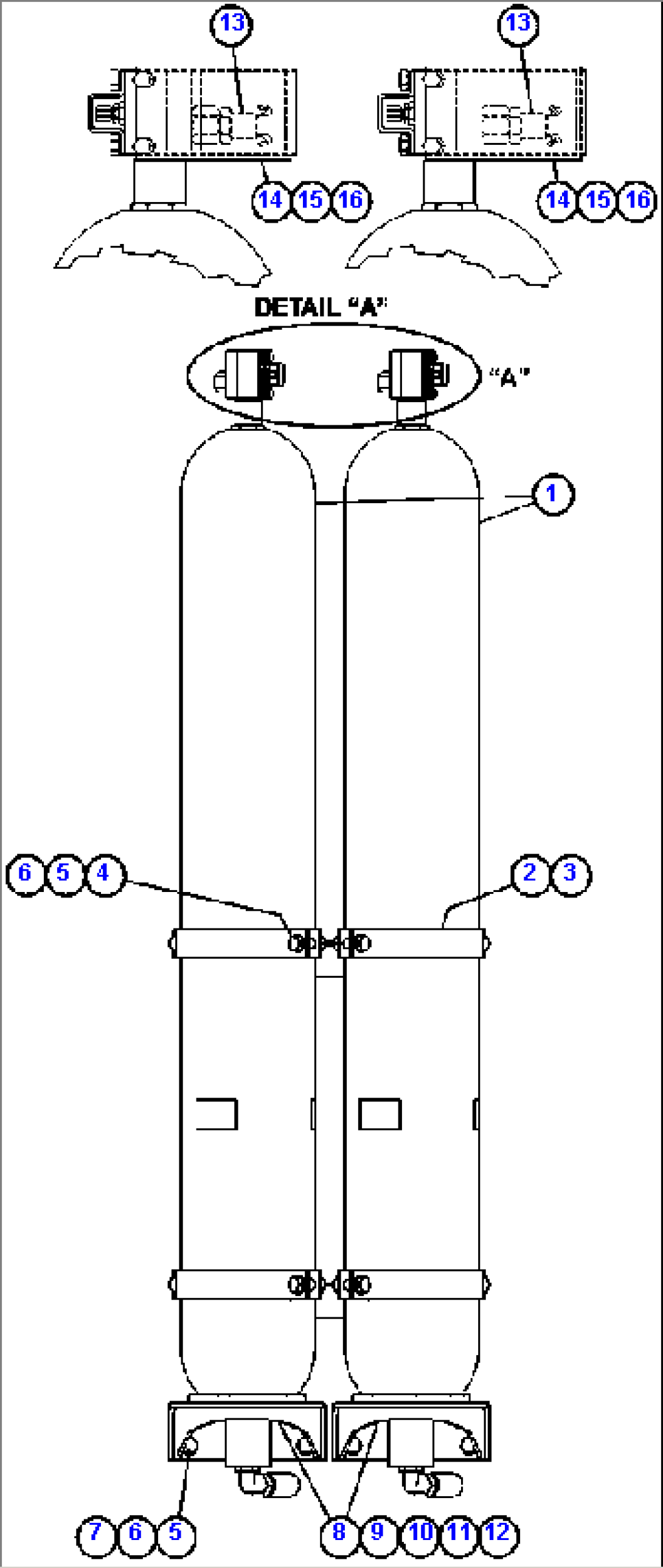
| Item | Part No. | Part Name | Qty | Serial No. |
| 1 | PC1811 | BLADDER ACCUMULATOR - 12.5 GAL (SEE INDEX) | ||
| 2 | EG3874 | CLAMP | ||
| 3 | EC3036 | CLAMP, HALF | ||
| 4 | MM0086 | CAPSCREW - M16 X 2.00 X 60 | ||
| 5 | MM0464 | FLAT WASHER - M16 | ||
| 6 | MM0696 | LOCKNUT - M16 X 2.00 | ||
| 7 | MM0071 | CAPSCREW - M16 X 2.00 X 45 | ||
| 8 | EJ7766 | BRACKET, BASE | ||
| 9 | PC1118 | RING, BASE | ||
| 10 | C1602 | CAPSCREW - 3/8" - 16NC X 1" | ||
| 11 | C1547 | FLAT WASHER - 3/8" | ||
| 12 | C0312 | LOCKWASHER - 3/8" | ||
| 13 | PB8333 | SWITCH, PRESSURE | ||
| 14 | EJ7888 | COVER | ||
| 15 | MM0603 | CAPSCREW - M10 X 1.50 X 16 | ||
| 16 | MM0471 | LOCKWASHER - M10 |
