
| Item | Part No. | Part Name | Qty | Serial No. |
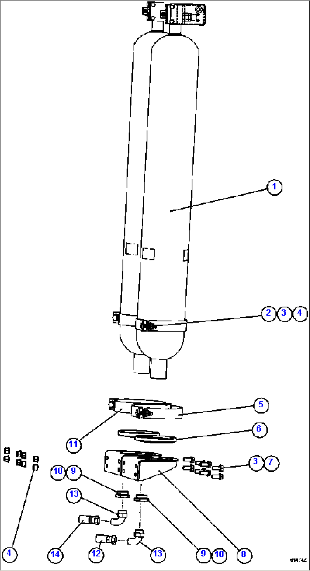
| 1 | PC2041 | STEERING ACCUMULATOR ASSEMBLY (SEE INDEX) | ||
| 2 | MM0086 | CAPSCREW - M16 X 2.00 X 60 | ||
| 3 | MM0706 | FLAT WASHER - M16 (HARDENED) | ||
| 4 | MM0696 | LOCKNUT - M16 X 2.00 | ||
| 5 | EC3036 | CLAMP, HALF | ||
| 6 | PC1118 | RING, BASE | ||
| 7 | MM0071 | CAPSCREW - M16 X 2.00 X 45 | ||
| 8 | EJ7766 | BRACKET, BASE | ||
| 9 | VN9912 | O-RING | ||
| 10 | DA6756 | REDUCER | ||
| 11 | EG3874 | CLAMP, ACCUMULATOR MOUNTING | ||
| 11 | C1603 | CAPSCREW - 3/8" - 16NC X 1 1/4" | ||
| 11 | C0312 | LOCKWASHER - 3/8" | ||
| 11 | DF3042 | FLAT WASHER - 3/8" | ||
| 12 | HA3288 | HOSE | ||
| 13 | WB0522 | FITTING, ELBOW - 90 DEG | ||
| 14 | HA7919 | HOSE |
