
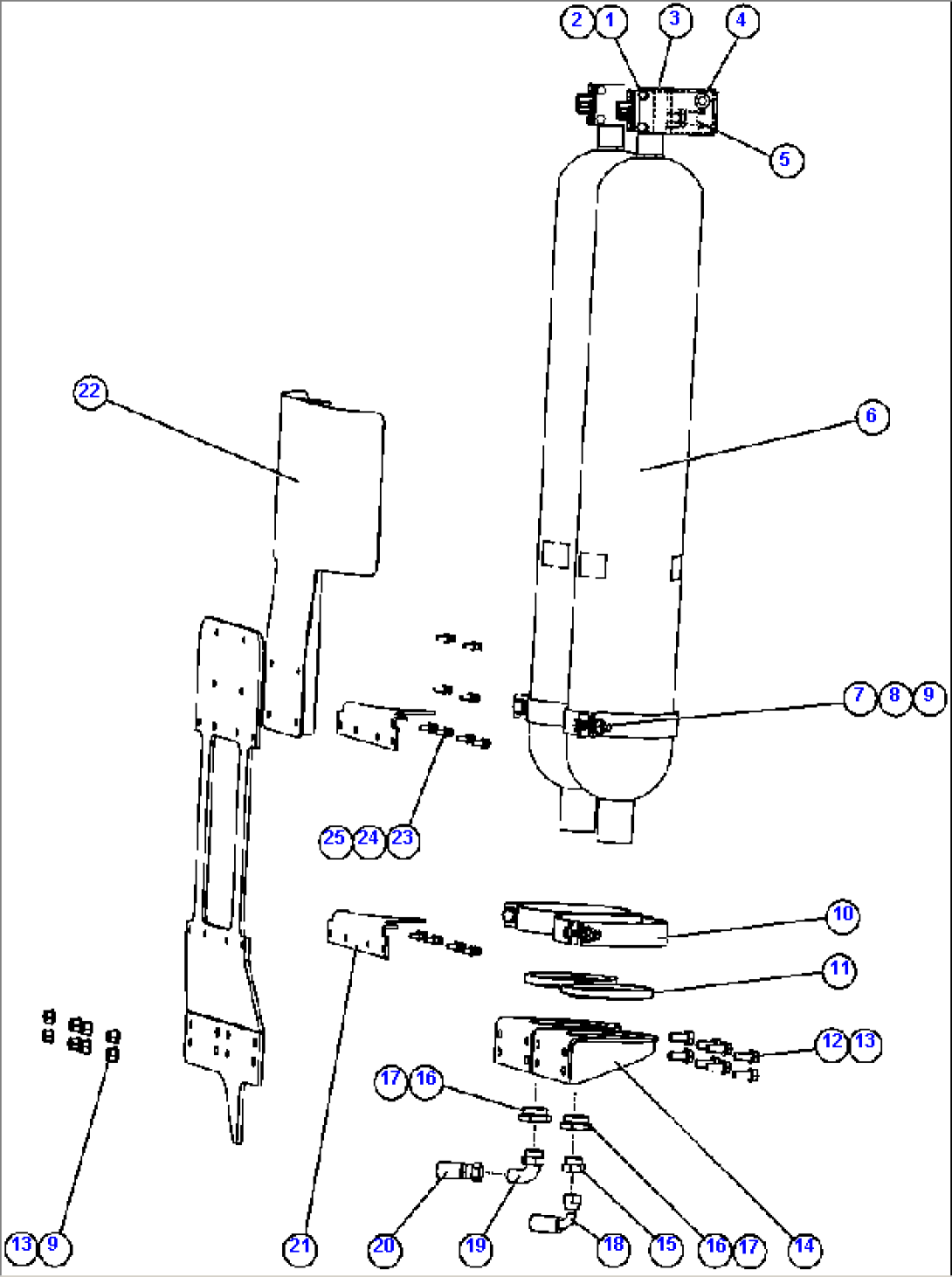
Item | Part No. | Part Name | Qty | Serial No. |
1 | MM0603 | CAPSCREW - M10 X 1.50 X 16 | ||
2 | MM0471 | LOCKWASHER - M10 | ||
3 | EJ7888 | COVER | ||
4 | SG2103 | GROMMET, RUBBER | ||
5 | PB8333 | SWITCH, PRESSURE | ||
6 | PC2040 | ACCUMULATOR ASSEMBLY (SEE INDEX) | ||
7 | MM0093 | CAPSCREW - M16 X 2.00 X 70 | ||
8 | MM0706 | FLAT WASHER - M16 | ||
9 | MM0696 | LOCKNUT - M16 X 2.00 | ||
10 | EC3036 | CLAMP, HALF | ||
11 | PC1118 | RING, BASE | ||
12 | MM0071 | CAPSCREW - M16 X 2.00 X 40 | ||
13 | MM0464 | FLAT WASHER - M16 | ||
14 | EJ7766 | BRACKET, BASE | ||
15 | WB0594 | FITTING, STRAIGHT | ||
16 | VN9912 | O-RING | ||
17 | DA6756 | REDUCER | ||
18 | HA1896 | HOSE | ||
19 | WB0517 | FITTING, ELBOW - 90 DEG | ||
20 | HA3737 | HOSE | ||
21 | EL0214 | CLAMP | ||
22 | EL0220 | SHIELD, HEAT | ||
23 | C1603 | CAPSCREW - 3/8" - 16NC X 1 1/4" | ||
24 | WA0720 | FLAT WASHER - 3/8" | ||
25 | C0312 | LOCKWASHER - 3/8" | ||
NS|26 | NOTE: NS = NOT SHOWN | |||
NS|27 | EG0008 | HARNESS, ACCUMULATOR PRESSURE SWITCH |