
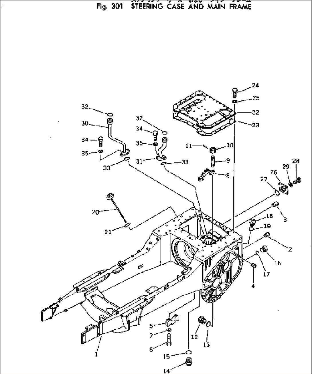
| Item | Part No. | Part Name | Qty | Serial No. |
| 141-21-00600 | STEERING CASE ASS'Y | 45001- | ||
| 1 | 141-21-51100 | FRAME | 45001- | |
| 2 | 07049-03342 | PLUG | 45001- | |
| 3 | 07049-02430 | PLUG | 45001- | |
| 4 | 131-21-41520 | PLUG | 45001- | |
| 5 | 141-21-31330 | CAP | 45001- | |
| 6 | 01010-32295 | BOLT | 45001- | |
| 7 | 01643-32260 | WASHER | 45001- | |
| 8 | 144-21-12190 | CAP | 45001- | |
| 9 | 01123-62200 | STUD | 45001- | |
| 10 | 01592-02226 | NUT | 45001- | |
| 11 | 04050-05040 | PIN | 45001- | |
| 12 | 07044-13620 | PLUG | 45001- | |
| 13 | 07002-03634 | O-RING | 45001- | |
| 14 | 07044-13620 | PLUG | 45001- | |
| 15 | 07002-03634 | O-RING | 45001- | |
| 16 | 07040-13618 | PLUG | 45001- | |
| 17 | 07002-03634 | O-RING | 45001- | |
| 18 | 07040-13618 | PLUG | 45001- | |
| 19 | 07002-03634 | O-RING | 45001- | |
| 20 | 141-21-31220 | GAUGE | 45001- | |
| 21 | 07000-03038 | O-RING | 45001- | |
| 22 | 141-21-31411 | COVER | 45001- | |
| 23 | 135-21-11421 | GASKET | 45001- | |
| 24 | 01010-31435 | BOLT | 45001- | |
| 25 | 01602-01442 | WASHER | 45001- | |
| 26 | 135-21-11210 | PLATE | 45001- | |
| 27 | 07000-03110 | O-RING | 45001- | |
| 28 | 01010-31630 | BOLT | 45001- | |
| 29 | 01643-31645 | WASHER | 45001- | |
| 30 | 144-21-11453 | TUBE | 45001- | |
| 31 | 141-21-31460 | TUBE | 45001- | |
| 32 | 07000-02015 | O-RING | 45001- | |
| 33 | 07000-02018 | O-RING | 45001- | |
| 34 | 01010-31025 | BOLT | 45001- | |
| 35 | 01602-01030 | WASHER | 45001- |
