
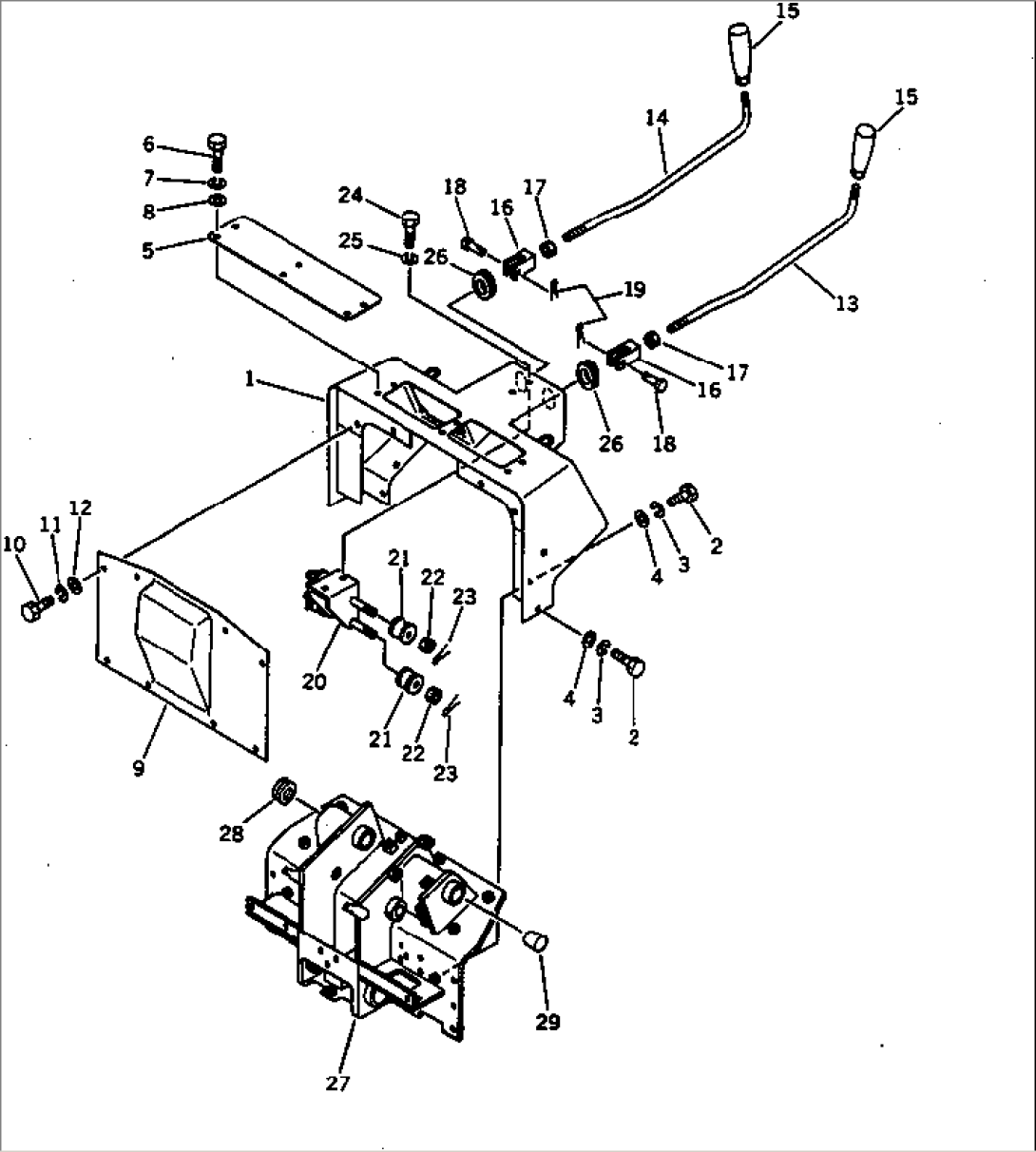
| Item | Part No. | Part Name | Qty | Serial No. |
| 1 | 144-54-24111 | DASHBOARD | 45200- | |
| 2 | 01010-51235 | BOLT | 45200- | |
| 3 | 01602-21236 | WASHER,SPRING | 45200-47950 | |
| 4 | 01643-31232 | WASHER | 45200- | |
| 5 | 120-54-31541 | COVER | 45200- | |
| 6 | 01010-51225 | BOLT | 45200- | |
| 7 | 01602-21236 | WASHER,SPRING | 45200-47950 | |
| 8 | 01643-31232 | WASHER | 45200- | |
| 9 | 144-54-24120 | COVER | 45200- | |
| 10 | 01010-51225 | BOLT | 45200- | |
| 11 | 01602-21236 | WASHER,SPRING | 45200-47950 | |
| 12 | 01643-31232 | WASHER | 45200- | |
| 13 | 144-43-31111 | LEVER,L.H. | 45200- | |
| 14 | 144-43-31121 | LEVER,R.H. | 45200- | |
| 15 | 09305-11400 | KNOB | 45200- | |
| 16 | 04210-21456 | YOKE | 45200- | |
| 17 | 01582-11411 | NUT | 45200- | |
| 18 | 04205-11438 | PIN | 45200- | |
| 19 | 04050-14025 | PIN,COTTER | 45200- | |
| 20 | 120-43-32411 | BRACKET | 45200- | |
| 21 | 09365-00826 | ROLLER | 45200- | |
| 22 | 01590-10809 | NUT | 45200- | |
| 23 | 04050-12015 | PIN,COTTER | 45200- | |
| 24 | 01010-51020 | BOLT | 45200- | |
| 25 | 01602-21030 | WASHER,SPRING | 45200- | |
| 26 | 130-54-61270 | GUIDE | 45200- | |
| 27 | 144-43-51180 | FRAME | 45200- | |
| 28 | 09415-03614 | CAP | 45200- | |
| 29 | 07049-04253 | PLUG | 45200- |
