
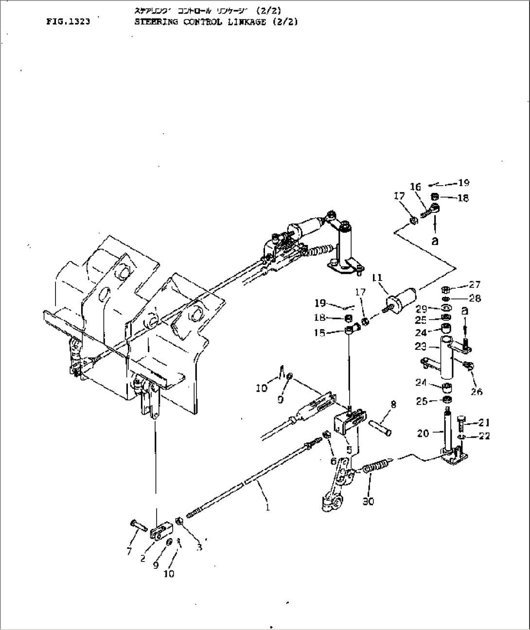
| Item | Part No. | Part Name | Qty | Serial No. |
| 1 | 04248-31491 | ROD | 6001- | |
| 2 | 04221-21478 | YOKE,L.H. THREAD | 6001- | |
| 3 | 01508-11408 | NUT¤ L.H. THREAD,L.H. THREAD | 6001- | |
| 5 | 120-43-39152 | LEVER,L.H. | 6001- | |
| 120-43-39162 | LEVER,R.H. | 6001- | ||
| 6 | 01582-11411 | NUT | 6001- | |
| 7 | 04205-11438 | PIN | 6001- | |
| 8 | 120-43-34891 | PIN | 6001- | |
| 9 | 01641-21423 | WASHER | 6001- | |
| 10 | 04050-14025 | PIN,COTTER | 6001- | |
| 11 | 120-43-39131 | COUPLING | 6001- | |
| 15 | 04250-41265 | END,ROD | 6001- | |
| 16 | 04252-01269 | END,ROD | 6001- | |
| 17 | 01582-11210 | NUT | 6001- | |
| 18 | 01593-11210 | NUT | 6001- | |
| 19 | 04050-13020 | PIN,COTTER | 6001- | |
| 20 | 120-43-39112 | BRACKET,L.H. | 6001- | |
| 120-43-39351 | BRACKET,R.H. D40 | 6001- | ||
| 124-43-34151 | BRACKET,R.H. D41 | 6001- | ||
| 21 | 01010-31230 | BOLT | 6001- | |
| 22 | 01602-01236 | WASHER,SPRING | 6001- | |
| 23 | 120-43-39121 | LEVER | 6001- | |
| 24 | 06120-02016 | BEARING,NEEDLE | 6001- | |
| 25 | 06122-02004 | SEAL,BEARING | 6001- | |
| 26 | 07020-00900 | FITTING,GREASE | 6001- | |
| 27 | 01580-11210 | NUT | 6001- | |
| 28 | 01602-01236 | WASHER,SPRING | 6001- | |
| 29 | 202-54-11281 | WASHER | 6001- | |
| 30 | 195-43-12421 | SPRING | 6001- |
