
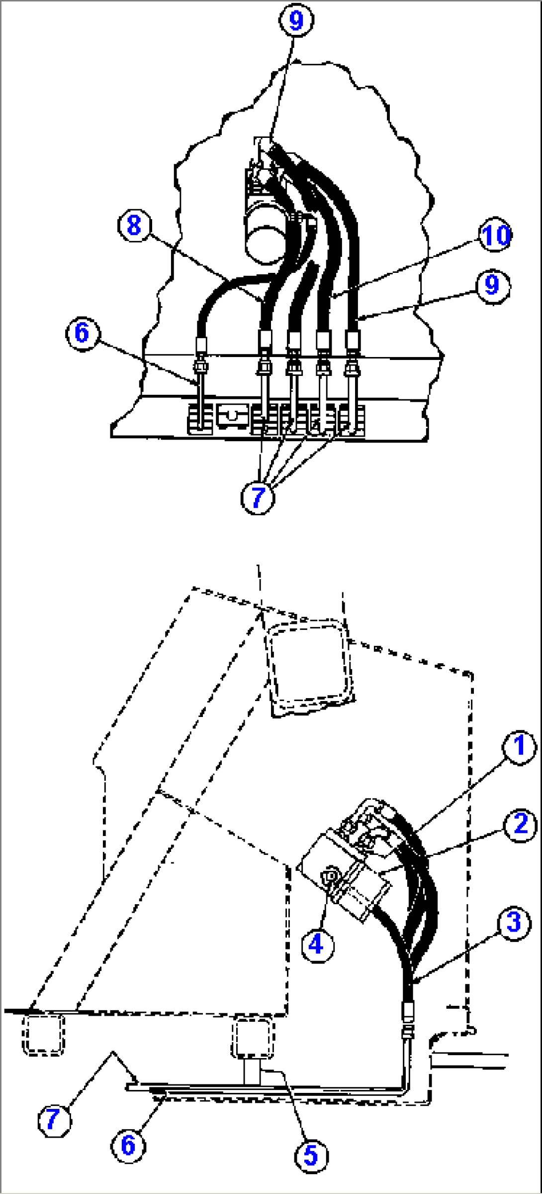
| Item | Part No. | Part Name | Qty | Serial No. |
| 1 | WB0584 | FITTING, STRAIGHT | ||
| 2 | PB6905 | STEERING CONTROL VALVE (SEE STEERING COLUMN PG) | ||
| 3 | HA6196 | HOSE | ||
| 4 | WB0574 | FITTING, STRAIGHT | ||
| 5 | TZ0673 | CLAMP | ||
| 6 | TY9649 | TUBE (TO BRAKE CABINET) | ||
| 7 | TY9648 | TUBE (TO BRAKE CABINET) | ||
| 8 | HA5557 | HOSE | ||
| 9 | HA6197 | HOSE | ||
| 10 | HA6204 | HOSE |
