
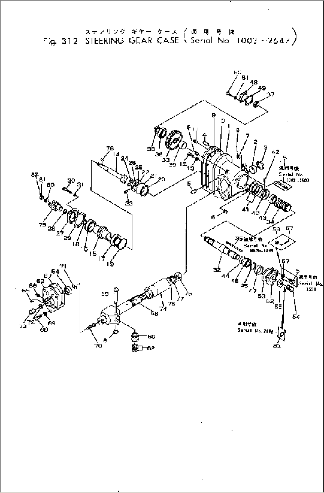
| Item | Part No. | Part Name | Qty | Serial No. |
| 232-40-00061 | GEAR CASE ASS'Y | 1003-1810 | ||
| 1 | 232-40-13110 | CASE | 1003-2647 | |
| 2 | 232-40-13120 | BUSHING | 1003-1810 | |
| 3 | 07010-00042 | SEAL (KIT) | 1003-2647 | |
| 4 | 04020-01024 | PIN | 1003-2647 | |
| 5 | 01142-31022 | STUD | 1003-1499 | |
| 6 | 07042-00415 | PLUG | 1003-2647 | |
| 7 | 01510-31619 | NUT | 1003-1050 | |
| 8 | 04050-04035 | PIN | 1003-2299 | |
| 9 | 232-40-13130 | COVER | 1003-2647 | |
| 10 | 232-40-13140 | GASKET (KIT) | 1003-2647 | |
| 11 | 07042-00415 | PLUG | 1003-2647 | |
| 12 | 01000-30825 | BOLT | 1003-2299 | |
| 13 | 01602-00825 | WASHER | 1003-2647 | |
| 14 | 232-40-13210 | SHAFT | 1003-2299 | |
| 15 | 232-40-13220 | PINION | 1003-2647 | |
| 16 | 06000-06208 | BEARING | 1003-2647 | |
| 17 | 06000-06210 | BEARING | 1003-2647 | |
| 18 | 04064-03015 | RING | 1336-2647 | |
| 232-40-13230 | RING | 1003-1335 | ||
| 19 | 232-40-13240 | SPACER | 1003-2647 | |
| 20 | 04065-09030 | RING | 1336-2647 | |
| 232-40-13250 | RING | 1003-1335 | ||
| 21 | 232-40-13260 | SPACER | 1003-2647 | |
| 22 | 232-40-13270 | RING | 1003-2647 | |
| 23 | 01322-00816 | SCREW | 1336-2299 | |
| 232-40-13280 | SCREW | 1003-1335 | ||
| 24 | 232-40-13290 | ROLLER | 1003-2647 | |
| 25 | 232-40-13310 | STOPPER | 1003-2647 | |
| 26 | 232-40-13320 | SPRING | 1003-2647 | |
| 232-40-00091 | COVER ASS'Y | 1003-2647 | ||
| 27 | 232-40-13330 | COVER | 1003-2647 | |
| 28 | 07010-00025 | SEAL | 1003-2647 | |
| 29 | 232-40-05510 | SHIM ASS'Y | 1003-2647 | |
| \6\ | SHIM¤ 0.5MM (KIT) | 1003-2647 | ||
| \6\ | SHIM¤ 0.2MM (KIT) | 1003-2647 | ||
| \6\ | SHIM¤ 0.1MM (KIT) | 1003-2647 | ||
| 30 | 01000-30820 | BOLT | 1003-2299 | |
| 31 | 01602-00825 | WASHER | 1003-2647 | |
| 32 | 232-40-13410 | SHAFT | 1003-2647 | |
| 33 | 232-40-13420 | GEAR | 1003-2647 | |
| 34 | 232-40-13430 | GEAR | 1003-2647 | |
| 35 | 232-40-13440 | KEY | 1003-2647 | |
| 36 | 06000-06205 | BEARING | 1003-2647 | |
| 37 | 01530-02210 | NUT | 1003-2647 | |
| 38 | 01656-22216 | LOCK | 1003-2647 | |
| 39 | 232-40-13450 | SPACER | 1003-2647 | |
| 40 | 232-40-13460 | CAGE | 1003-2647 | |
| 41 | 232-40-05520 | SHIM ASS'Y | 1003-2647 | |
| 232-40-13470 | SHIM¤ 0.5MM (KIT) | 1003-2647 | ||
| 232-40-13480 | SHIM¤ 0.2MM (KIT) | 1003-2647 | ||
| 232-40-13490 | SHIM¤ 0.1MM (KIT) | 1003-2647 | ||
| 42 | 01322-00825 | SCREW | 1336-2299 | |
| 232-40-13510 | SCREW | 1003-1335 | ||
| 43 | 06000-32207 | BEARING | 1003-2647 | |
| 44 | 232-40-13520 | BUSHING | 1003-2647 | |
| 45 | 04064-02512 | RING | 1336-2647 | |
| 232-40-13530 | RING | 1003-1335 | ||
| 46 | 06000-32207 | BEARING | 1003-2647 | |
| 47 | 232-40-13540 | RETAINER | 1003-2647 | |
| 48 | 232-40-13550 | COVER | 1003-2647 | |
| 49 | 232-40-13560 | GASKET (KIT) | 1003-2647 | |
| 50 | 01000-30820 | BOLT | 1003-2299 | |
| 51 | 01602-00825 | WASHER | 1003-2647 | |
| 52 | 232-40-13570 | COVER | 1003-2467 | |
| 53 | 232-40-13580 | GASKET (KIT) | 1003-2647 | |
| 54 | 232-40-13590 | SCREW | 1003-2467 | |
| 55 | 01501-32210 | NUT | 1003-2299 | |
| 56 | 01511-31009 | NUT | 1003-1499 | |
| 57 | 04050-02022 | PIN | 1003-1499 | |
| 58 | 232-40-13610 | SHAFT | 1003-2299 | |
| 59 | 232-40-91150 | SHAFT | 1003-2299 | |
| 60 | 232-43-91210 | ROLLER | 1003-2647 | |
| 61 | 232-40-91160 | NUT | 1003-2299 | |
| 62 | 232-40-05070 | SHIM ASS'Y | 1003-2647 | |
| 232-40-91170 | SHIM¤ 0.2MM (KIT) | 1003-2647 | ||
| 233-40-91180 | SHIM (KIT) | 1003-2647 | ||
| 232-40-91190 | SHIM¤ 0.5MM (KIT) | 1003-2647 | ||
| 232-40-00100 | COVER ASS'Y | 1003-2647 | ||
| 63 | 232-40-13620 | COVER | 1003-2647 | |
| 64 | 232-40-13120 | BUSHING | 1003-2647 | |
| 65 | 04020-00616 | PIN | 1336-2647 | |
| 232-40-13630 | PIN | 1003-1335 | ||
| 66 | 07020-00000 | FITTING | 1003-2647 | |
| 67 | 232-40-13640 | GASKET (KIT) | 1003-2647 | |
| 68 | 01010-31030 | BOLT | 1003-2647 | |
| 69 | 01602-01030 | WASHER | 1003-2647 | |
| 70 | 232-40-13650 | SCREW | 1003-2647 | |
| 71 | 232-40-13660 | WASHER | 1003-2647 | |
| 72 | 232-40-13670 | WASHER | 1003-2647 | |
| 73 | 232-40-13680 | NUT | 1003-2647 | |
| 74 | 232-40-13710 | JOINT | 1003-2647 | |
| 75 | 01500-32418 | NUT | 1003-2299 | |
| 76 | 01640-02440 | WASHER | 1003-2647 | |
| 77 | 01602-02472 | WASHER | 1003-2647 | |
| 78 | 04010-00725 | KEY | 1003-2647 | |
| 79 | 232-40-12350 | YOKE | 1003-2647 | |
| 80 | 01640-01626 | WASHER | 1003-2647 | |
| 81 | 01511-31612 | NUT | 1003-2299 | |
| 82 | 04050-04035 | PIN | 1003-2647 |
