
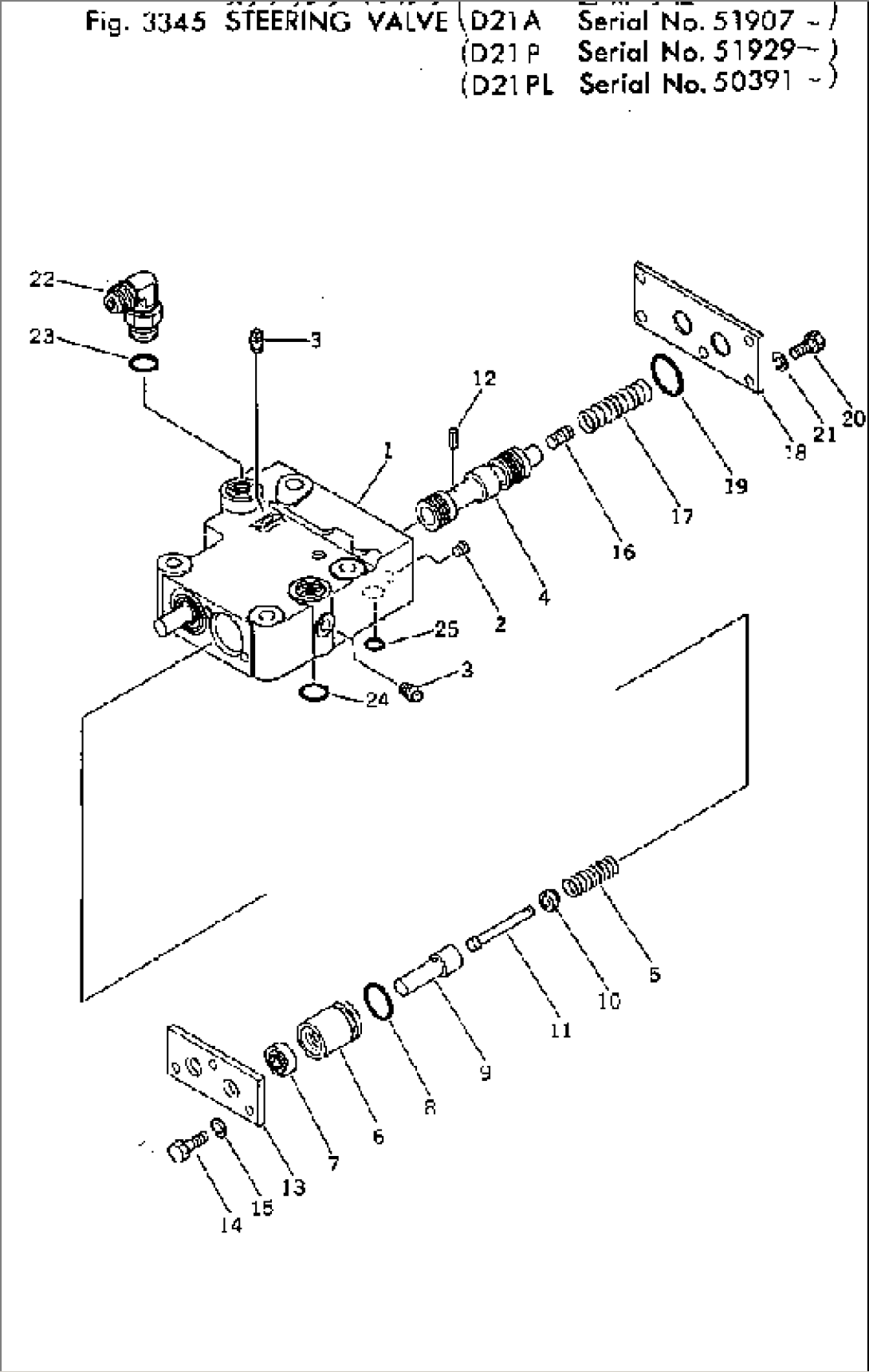
| Item | Part No. | Part Name | Qty | Serial No. |
| 103-40-00011 | VALVE ASS'Y | 52333- | ||
| \0\103-40-00010 | VALVE ASS'Y | 51907-52332 | ||
| 120-40-00021 | BODY ASS'Y | 51907- | ||
| 1 | \6\ | BODY | 51907- | |
| 2 | 07043-00108 | PLUG | 51907- | |
| 3 | 07042-20108 | PLUG | 51907- | |
| 4 | 120-40-32110 | SPOOL | 52333- | |
| 4 | \0\120-40-31542 | SPOOL | 51907-52332 | |
| 5 | 103-40-21211 | SPRING | 52333- | |
| 5 | 103-40-21210 | SPRING | 51907-52332 | |
| 6 | 120-40-31431 | COLLAR | 51907- | |
| 7 | 113-15-29110 | SEAL | 51907- | |
| 8 | 07000-03025 | O-RING | 51907- | |
| 9 | 120-40-32120 | STEM | 52333- | |
| 9 | \0\120-40-31473 | STEM | 51907-52332 | |
| 10 | 120-40-32130 | COLLAR | 52333- | |
| 10 | \0\120-40-31493 | GUIDE | 51907-52332 | |
| 11 | 120-40-31483 | SHAFT | 51907- | |
| 12 | 04025-00316 | PIN | 51907- | |
| 13 | 120-40-31361 | PLATE | 51907- | |
| 14 | 01010-30820 | BOLT | 51907- | |
| 15 | 01602-00825 | WASHER | 51907- | |
| 16 | 702-11-11190 | PISTON | 51907- | |
| 17 | 120-40-32140 | SPRING | 52333- | |
| 17 | 120-40-31521 | SPRING | 51907-52332 | |
| 18 | 120-40-31451 | PLATE | 51907- | |
| 19 | 07000-03030 | O-RING | 51907- | |
| 20 | 01010-30820 | BOLT | 51907- | |
| 21 | 01602-00825 | WASHER | 51907- | |
| 22 | 07235-10315 | ELBOW | 51907- | |
| 23 | 07002-02034 | O-RING | 51907- | |
| 24 | 07000-02020 | O-RING | 51907- | |
| 25 | 07000-02012 | O-RING | 51907- |
