
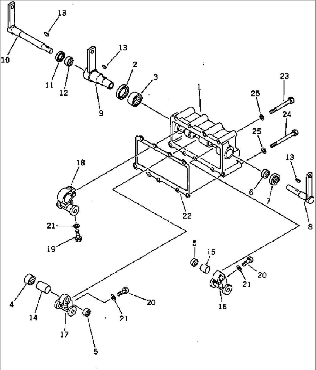
| Item | Part No. | Part Name | Qty | Serial No. |
| (19M-40-00012) | STEERING VALVE ASS'Y | 10019- | ||
| (\0\19M-40-00011) | STEERING VALVE ASS'Y | 10011-10018 | ||
| (\0\19M-40-00010) | STEERING VALVE ASS'Y | 10001-10010 | ||
| THESE ASSEMBLIES CONSIST OF ALL PARTS SHOWN IN FIGS.4501 TO 4503. | ||||
| 1 | 195-40-41511 | COVER | 10001- | |
| 2 | 195-40-41590 | SEAL,OIL | 10001- | |
| 3 | 06120-04020 | BEARING,NEEDLE | 10001- | |
| 4 | 06120-03020 | BEARING,NEEDLE | 10001- | |
| 5 | 06120-01612 | BEARING,NEEDLE | 10001- | |
| 6 | 06120-02216 | BEARING,NEEDLE | 10001- | |
| 7 | 175-40-31270 | SEAL,OIL | 10001- | |
| 8 | 19M-40-11440 | LEVER,NEEDLE | 10001- | |
| 9 | 19M-40-11450 | LEVER | 10001- | |
| 10 | 19M-40-11460 | LEVER | 10001- | |
| 11 | 175-40-31270 | SEAL,OIL | 10001- | |
| 12 | 06120-02216 | BEARING,NEEDLE | 10001- | |
| 13 | 04010-00516 | KEY | 10001- | |
| 14 | 195-40-41640 | SPACER | 10001- | |
| 15 | 195-40-41650 | SPACER | 10001- | |
| 16 | 195-40-41700 | LEVER ASS'Y,L.H. | 10001- | |
| 17 | 195-40-41600 | LEVER ASS'Y | 10001- | |
| 18 | 195-40-41800 | LEVER ASS'Y,R.H. | 10001- | |
| 19 | 01010-80835 | BOLT | 10001- | |
| 20 | 01010-80840 | BOLT | 10001- | |
| 21 | 01643-30823 | WASHER | 10001- | |
| 22 | 195-40-41531 | GASKET | 10011- | |
| \0\195-40-41530 | GASKET | 10001-10010 | ||
| 23 | 6132-11-6460 | BOLT | 10001- | |
| 24 | 6141-64-7170 | BOLT | 10001- | |
| 25 | 01643-30823 | WASHER | 10001- |
