
| Item | Part No. | Part Name | Qty | Serial No. |
| STRAIGHT TILT BLADE | ||||
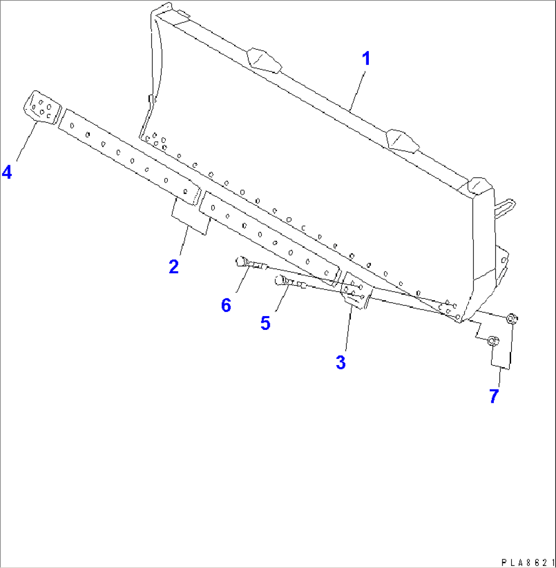
| 1 | 130-Z20-8100 | BLADE ASS'Y | 83001- | |
| 2 | 130-Z20-1510 | EDGE,CUTTING | 83001- | |
| 3 | 144-70-11180 | BIT,END¤ L.H. | 83001- | |
| 4 | 144-70-11190 | BIT,END¤ R.H. | 83001- | |
| 5 | 02090-11270 | BOLT | 83001- | |
| 6 | 02091-11205 | BOLT | 83001- | |
| 7 | 02290-11219 | NUT | 83001- |
