
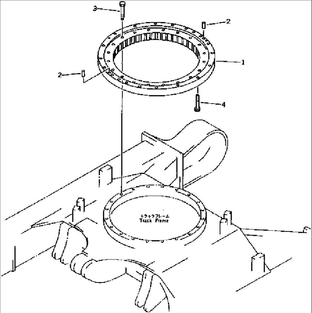
| Item | Part No. | Part Name | Qty | Serial No. |
| 1 | 20T-25-77102 | CIRCLE,SWING | 23885- | |
| 1 | \0\20T-25-77101 | CIRCLE,SWING | 18001-23884 | |
| 20T-25-31150 | SEAL | 18001- | ||
| 20T-25-77180 | SEAL | 23885- | ||
| 2 | 04020-01434 | PIN,DOWEL | 18001- | |
| 3 | 01010-51270 | BOLT | 18001- | |
| 4 | 01010-51265 | BOLT | 23885- | |
| 01010-51260 | BOLT | 18001-23884 |
