
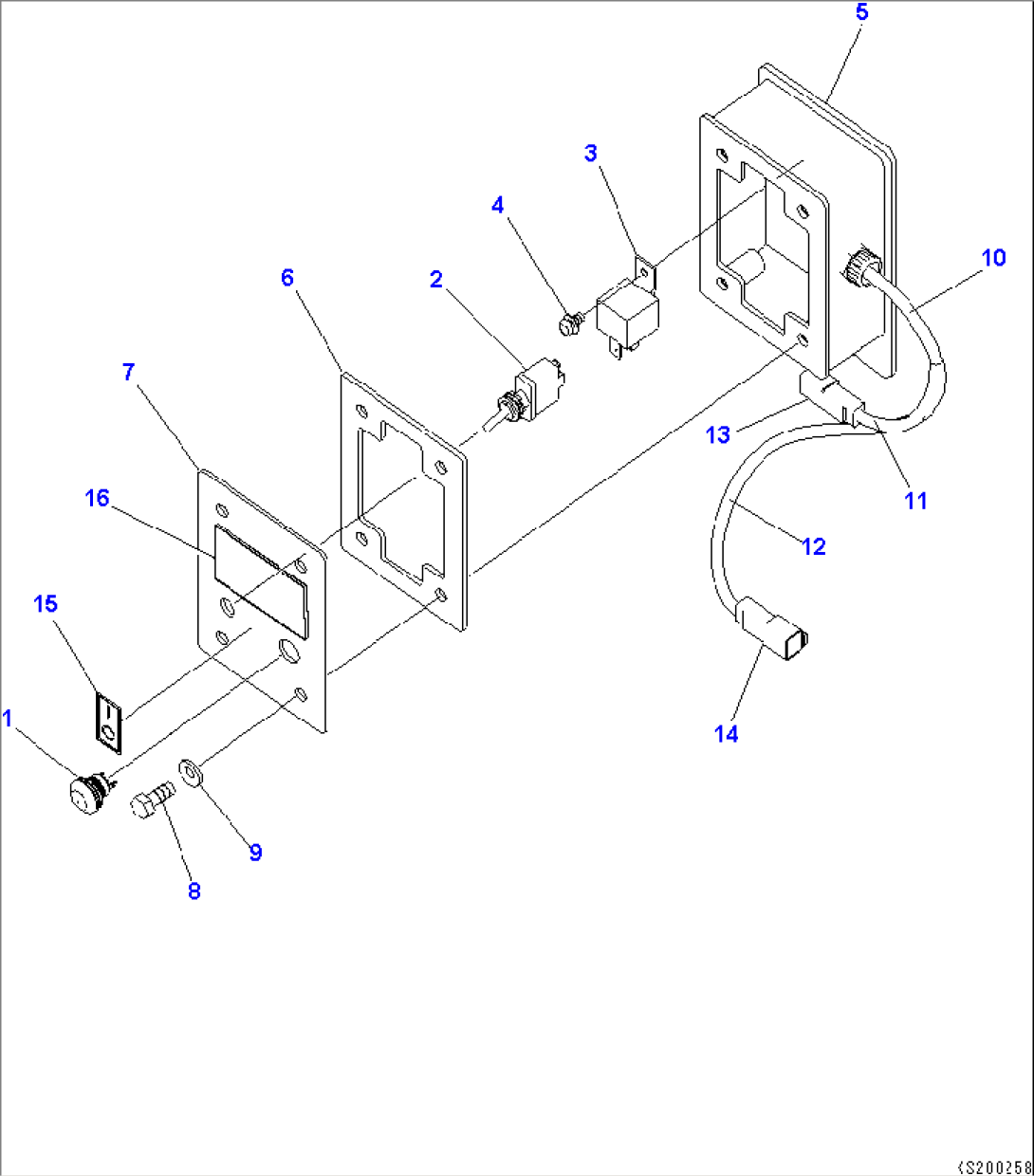
| Item | Part No. | Part Name | Qty | Serial No. |
| 20Y-04-K4081 | SWITCH BOX ASSEMBLY | K52390- | ||
| 1 | 20Y-04-K1090 | SWITCH | K52390- | |
| 2 | 20Y-04-K4090 | SWITCH | K52390- | |
| 3 | 20Y-04-K4050 | RELAY | K52390- | |
| 4 | 01023-10512 | SCREW | K52390- | |
| 5 | 20Y-04-K5061 | BOX | K52390- | |
| 6 | 20Y-04-K6020 | GASKET | K52390- | |
| 7 | 20Y-04-K6031 | PLATE | K52390- | |
| 8 | 01010-80820 | BOLT | K52390- | |
| 9 | 01643-30823 | WASHER | K52390- | |
| 10 | 08017-A0701 | CONDUIT | K52390- | |
| 11 | 08017-A0703 | CONDUIT | K52390- | |
| 12 | 08017-A0705 | CONDUIT | K52390- | |
| 13 | 08192-22930 | CONNECTOR | K52390- | |
| 14 | 08192-23830 | CONNECTOR | K52390- | |
| 15 | 20Y-00-K2040 | PLATE | K52390- | |
| 16 | 09651-A0841 | DECAL - REFUEL PUMP | K52390- |
