
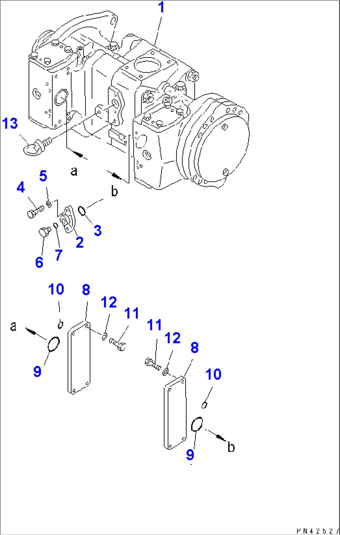
| Item | Part No. | Part Name | Qty | Serial No. |
| 708-45-10204 | PUMP ASS'Y | 10001- | ||
| (\2\708-45-10203) | PUMP ASS'Y | (10056-10530) | ||
| (\2\708-45-10202) | PUMP ASS'Y | (10049-10055) | ||
| (\2\708-45-10201) | PUMP ASS'Y | (.-10048) | ||
| (\2\708-45-10200) | PUMP ASS'Y | (10001-.) | ||
| THESE ASSEMBLIES CONSIST OF ALL PARTS SHOWN IN FIGS.6031 TO 6034. | ||||
| 1 | (708-45-11204) | PUMP SUB ASS'Y | 10001- | |
| 1 | (\2\708-45-11203) | PUMP SUB ASS'Y | (10056-10530) | |
| 1 | (\2\708-45-11202) | PUMP SUB ASS'Y | (10049-10055) | |
| 1 | (\2\708-45-11201) | PUMP SUB ASS'Y | (.-10048) | |
| 1 | (\2\708-45-11200) | PUMP SUB ASS'Y | (10001-.) | |
| 2 | 708-25-19120 | FLANGE | 10001- | |
| 3 | 07000-32021 | O-RING | 10001- | |
| 3 | (\2\07000-02021) | O-RING | (10001-10048) | |
| 4 | 01010-30820 | BOLT | 10001- | |
| 5 | 01602-00825 | WASHER,SPRING | 10001- | |
| 6 | 07040-12012 | PLUG | 10001- | |
| 7 | 07002-32034 | O-RING | 10001- | |
| 7 | (\2\07002-02034) | O-RING | (10001-10048) | |
| 8 | 708-45-19981 | PLATE | 10001- | |
| 8 | (\2\708-45-19980) | PLATE | (10001-10048) | |
| 9 | 07000-33048 | O-RING | 10001- | |
| 9 | (\2\07000-03048) | O-RING | (10001-10048) | |
| 10 | 07000-21009 | O-RING | 10001- | |
| 10 | (\2\07000-11009) | O-RING | (10001-10048) | |
| 11 | 01010-30830 | BOLT | 10001- | |
| 12 | 01643-30823 | WASHER | 10001- | |
| 13 | 04530-01018 | BOLT,EYE | 10001- |
