
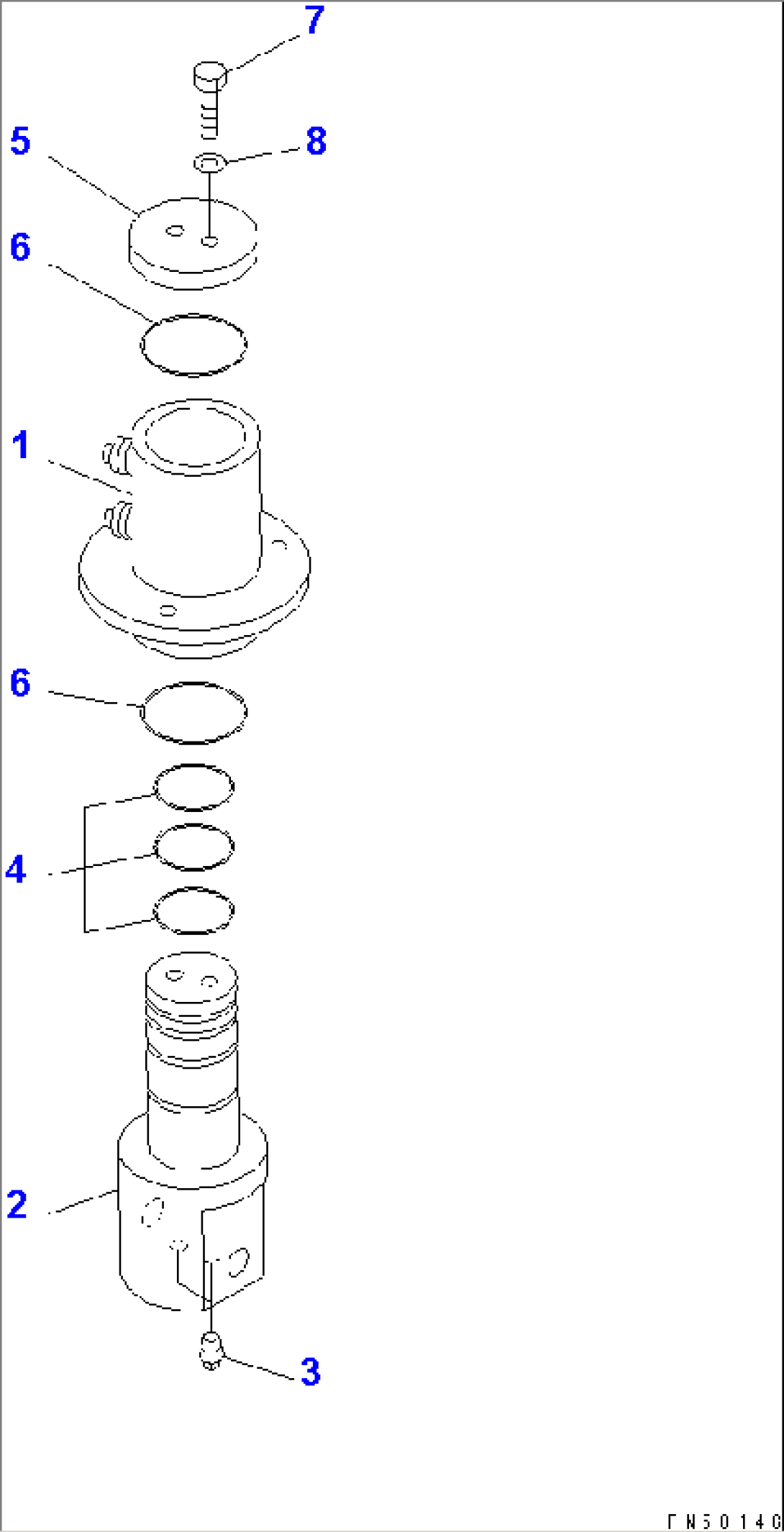
| Item | Part No. | Part Name | Qty | Serial No. |
| 23E-60-13200 | SWIVEL JOINT ASS'Y | 4501- | ||
| 232-60-54702 | SWIVEL JOINT ASS'Y | 4001-4500 | ||
| 1 | 23E-60-13220 | BODY | 4501- | |
| 232-60-54711 | BODY | 4001-4500 | ||
| 2 | 23E-60-13210 | FLANGE | 4501- | |
| 232-60-54720 | FLANGE | 4001-4500 | ||
| 3 | 07043-00211 | PLUG | 4001- | |
| 4 | 07000-13050 | O-RING | 4001- | |
| 5 | 232-60-54730 | PLATE | 4001- | |
| 6 | 07000-12065 | O-RING | 4001- | |
| 7 | 01010-51225 | BOLT | 4001- | |
| 8 | 01643-31232 | WASHER | 4001- |
