
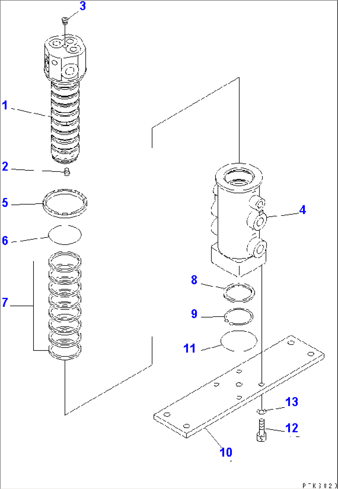
| Item | Part No. | Part Name | Qty | Serial No. |
| 703-06-22210 | SWIVEL JOINT ASS'Y | 17401- | ||
| 1 | 703-06-92211 | SHAFT,SWIVEL | 17401- | |
| 2 | 703-08-98510 | PLUG | 14993- | |
| 3 | 703-13-98920 | PLUG | 17401- | |
| 4 | 703-06-91210 | ROTOR | 17401- | |
| 5 | 703-06-98110 | SEAL,OIL | 14993- | |
| 6 | 07000-15060 | O-RING | 14993- | |
| 7 | 703-06-95122 | SEAL,SLIPPER | 15227- | |
| 8 | 703-06-94110 | RING | 14993- | |
| 9 | 04064-05520 | RING,SNAP | 14993- | |
| 10 | 703-06-93210 | COVER | 17401- | |
| 11 | 07000-12075 | O-RING | 17401- | |
| 12 | 01252-61035 | BOLT | 17401- | |
| 13 | 01643-31032 | WASHER | 17401- |
