
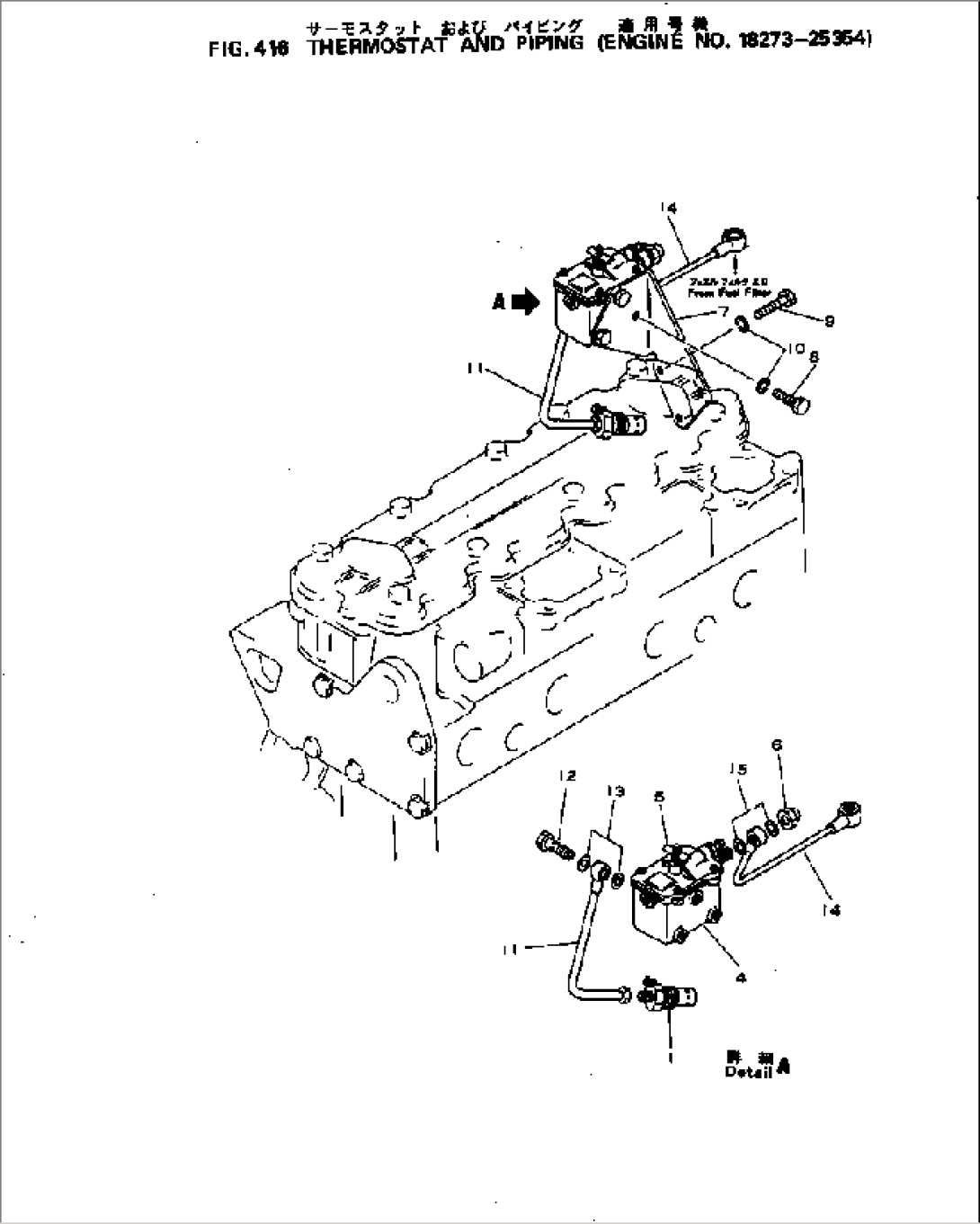
| Item | Part No. | Part Name | Qty | Serial No. |
| 1 | 6141-81-4110 | THERMOSTART | 22068-25369 | |
| 4 | 6124-81-4211 | FUEL TANK ASS'Y | 22068-25369 | |
| 5 | 6600-01-3920 | VALVE,DRAIN | 22068-25369 | |
| 6 | HS-IC-01-2206 | NUT | 22068-25369 | |
| 7 | 6131-11-8430 | BRACKET | 22068-25369 | |
| 8 | 01010-30812 | BOLT | 22068-25369 | |
| 9 | 01010-30822 | BOLT | 22068-25369 | |
| 10 | 01602-00825 | WASHER,SPRING | 22068-25369 | |
| 11 | 6131-81-4531 | PIPE | 22068-25369 | |
| 12 | 07206-10610 | BOLT,JOINT | 22068-25369 | |
| 13 | 07005-01012 | GASKET (K1) | 22068-25369 | |
| 14 | 6131-81-4510 | PIPE | 22068-25369 | |
| 15 | 07005-01012 | GASKET (K1) | 22068-25369 |
