
| Item | Part No. | Part Name | Qty | Serial No. |
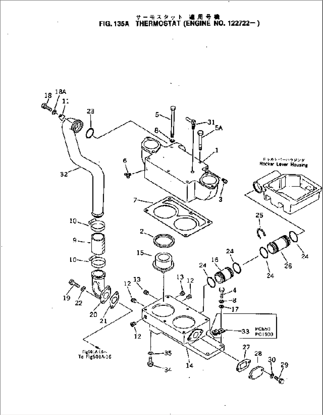
| CU3016721 | HOUSING ASS'Y | 122722- | ||
| 1 | \6\ | HOUSING | 122722- | |
| 2 | CU186780 | SEAL | 122722- | |
| 3 | 6721-91-2810 | CONNECTOR | .- | |
| 3 | CUS-1002-A | CONNECTOR | 122722-. | |
| 4 | CU3012472 | BOLT | .- | |
| 4 | \0\CU108707 | BOLT | 122722-. | |
| 5 | CU3010597 | BOLT | .- | |
| 5 | \0\CUS-199-B | BOLT | 122722-. | |
| 5A | CU3010596 | BOLT | 122722- | |
| 6 | CUS-962-E | COCK,DRAIN | 122722- | |
| 7 | CU3010918 | GASKET | 122722- | |
| 8 | CUS-604 | WASHER | 122722- | |
| 9 | CU68378 | HOSE | 122722- | |
| 10 | CU43828 | CLAMP | 122722- | |
| 11 | CU3010689 | CLAMP | 122722- | |
| 12 | CU3008468 | PLUG | 122722- | |
| 13 | CU3008469 | PLUG | 122722- | |
| 14 | CU3200680 | SUPPORT | .- | |
| 14 | CU3010916 | SUPPORT | 122722-. | |
| 15 | 600-421-6610 | THERMOSTAT | ..- | |
| 15 | CU201737 | THERMOSTAT | .-.. | |
| 15 | \0\CU204586 | THERMOSTAT | 122722-. | |
| 16 | CU207378 | TUBE | 122722- | |
| 17 | CU127362 | WASHER | 122722- | |
| 18 | CUS-107 | BOLT | 122722- | |
| 18A | CUS-605 | WASHER,SPRING | 122722- | |
| 19 | CUS-103-D | BOLT | .- | |
| 19 | \0\CU191772 | BOLT | 122722-. | |
| 20 | CU3010299 | CONNECTOR | 122722- | |
| 21 | CU195866 | GASKET | 122722- | |
| 22 | 01602-00929 | WASHER,SPRING | 122722- | |
| 23 | CU70624 | O-RING | 122722- | |
| 24 | CU3028291 | O-RING | .- | |
| 24 | \0\CU69760 | O-RING | 122722-. | |
| 25 | CU205976 | RING | 122722- | |
| 26 | CU207233 | TUBE | 122722- | |
| 27 | CU207056 | GASKET | 122722- | |
| 28 | CU207077 | COVER | 122722- | |
| 29 | 02010-20625 | BOLT | 122722- | |
| 30 | CUS-604 | WASHER | 122722- | |
| 31 | 6672-71-8971 | CONNECTOR | .- | |
| 31 | \0\6672-71-8970 | CONNECTOR | 122722-. | |
| 31 | 02720-20406 | PLUG,(FOR USA WITH LARGE TIRE S.) | 130921- | |
| 32 | CU3011224 | TUBE | 122722- | |
| 34 | CUS-141 | BOLT | 122722- | |
| 35 | CU127362 | WASHER | 122722- |
