
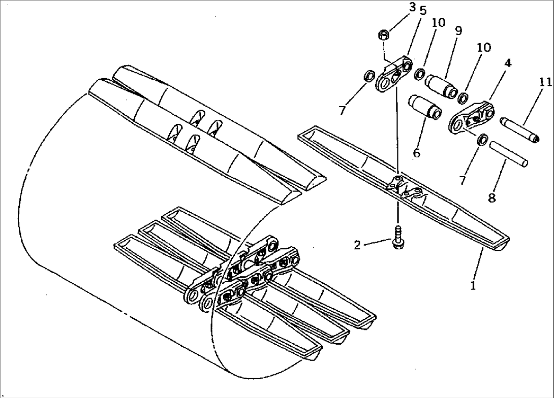
| Item | Part No. | Part Name | Qty | Serial No. |
| 1200MM WIDE | ||||
| 12F-32-02106 | TRACK SHOE ASS'Y | 10956-11118 | ||
| \0\12F-32-02105 | TRACK SHOE ASS'Y | .-10955 | ||
| \0\12F-32-02104 | TRACK SHOE ASS'Y | 10001-. | ||
| 1 | 12F-32-11310 | SHOE,TRACK | 10001-11118 | |
| 2 | 13F-32-21221 | BOLT¤ SHOE (KIT) | 10956-11118 | |
| 13F-32-21220 | BOLT,SHOE (KIT) | 10001-10955 | ||
| 3 | 203-32-51220 | NUT,SHOE (KIT) | 10956-11118 | |
| 01803-01622 | NUT¤ SHOE (KIT) | 10001-10955 | ||
| 12F-32-00045 | TRACK LINK ASS'Y | .-11118 | ||
| \0\12F-32-00044 | TRACK LINK ASS'Y | 10001-. | ||
| 4 | 130-32-11126 | LINK,TRACK¤ L.H. | 10001-11118 | |
| 5 | 130-32-11136 | LINK,TRACK¤ R.H. | 10001-11118 | |
| 6 | 130-32-11146 | BUSHING,REGULAR | .-11118 | |
| \0\130-32-11145 | BUSHING,REGULAR | 10001-. | ||
| 7 | 135-32-11271 | SEAL,DUST¤ REGULAR¤ W-TYPE | 10001-11118 | |
| 8 | 205-32-51152 | PIN¤ REGULAR | 10001-11118 | |
| 9 | 130-32-11174 | BUSHING,MASTER | .-11118 | |
| \0\130-32-11173 | BUSHING¤ MASTER,MASTER | 10001-. | ||
| 10 | 135-32-11381 | SEAL,DUST¤ MASTER¤ W-TYPE | 10001-11118 | |
| 11 | 205-32-21192 | PIN¤ MASTER | 10001-11118 | |
| SERVICE KIT | ||||
| 13F-32-05001 | SHOE BOLT AND NUT K. | 10956-11118 | ||
| \0\13F-32-05000 | SHOE BOLT AND NUT K. | 10001-10955 | ||
| 1 | 13F-32-21221 | BOLT¤ SHOE | 10956-11118 | |
| 13F-32-21220 | BOLT,SHOE | 10001-10955 | ||
| 2 | 203-32-51220 | NUT,SHOE | 10956-11118 | |
| 01803-01622 | NUT¤ SHOE | 10001-10955 | ||
| OVERSIZE PARTS | ||||
| SELECT AS REQUIRED NOT NECESSARY TO USE ALL OF THE OVERSIZE PARTS. | ||||
| 0.10MM OVERSIZE | ||||
| 6 | 130-98-09115 | BUSHING¤ REGULAR | .-11118 | |
| \0\130-98-09114 | BUSHING¤ REGULAR | 10001-. | ||
| 8 | 205-98-09012 | PIN¤ REGULAR | 10001-11118 | |
| 9 | 130-98-09144 | BUSHING¤ MASTER | .-11118 | |
| \0\130-98-09143 | BUSHING¤ MASTER | 10001-. | ||
| 11 | 205-98-09042 | PIN¤ MASTER | 10001-11118 | |
| 0.18MM OVERSIZE | ||||
| 6 | 130-98-09135 | BUSHING¤ REGULAR | .-11118 | |
| \0\130-98-09134 | BUSHING¤ REGULAR | 10001-. | ||
| 8 | 205-98-09032 | PIN¤ REGULAR | 10001-11118 | |
| 9 | 130-98-09164 | BUSHING¤ MASTER | .-11118 | |
| \0\130-98-09163 | BUSHING¤ MASTER | 10001-. | ||
| 11 | 205-98-09062 | PIN¤ MASTER | 10001-11118 |
