
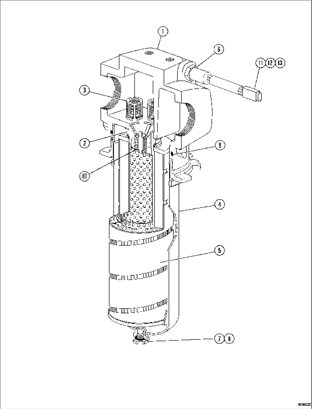
| Item | Part No. | Part Name | Qty | Serial No. |
| AHEK6500 | Filter | 80138- | ||
| 1 | AHXA0170 | Head Assembly | 80138- | |
| 2 | AHBF3370 | Core | 80138- | |
| 3 | AHBF3306 | Valve | 80138- | |
| 4 | AHVE4462 | Bowl Assembly | 80138- | |
| 5 | AHEF8296 | Element | 80138- | |
| 6 | AHXA0171 | Indicator | 80138- | |
| 7 | AHVE1978 | Plug | 80138- | |
| 8 | AHBF2368 | O-ring | 80138- | |
| 9 | AHXA0172 | Seal | 80138- | |
| 10 | Valve | 80138- | ||
| 11 | 08192-13200 | Connector Body | 80138- | |
| 12 | 08191-07420 | Socket Contact | 80138- | |
| 13 | 08192-13400 | Wedge | 80138- |
