
| Item | Part No. | Part Name | Qty | Serial No. |
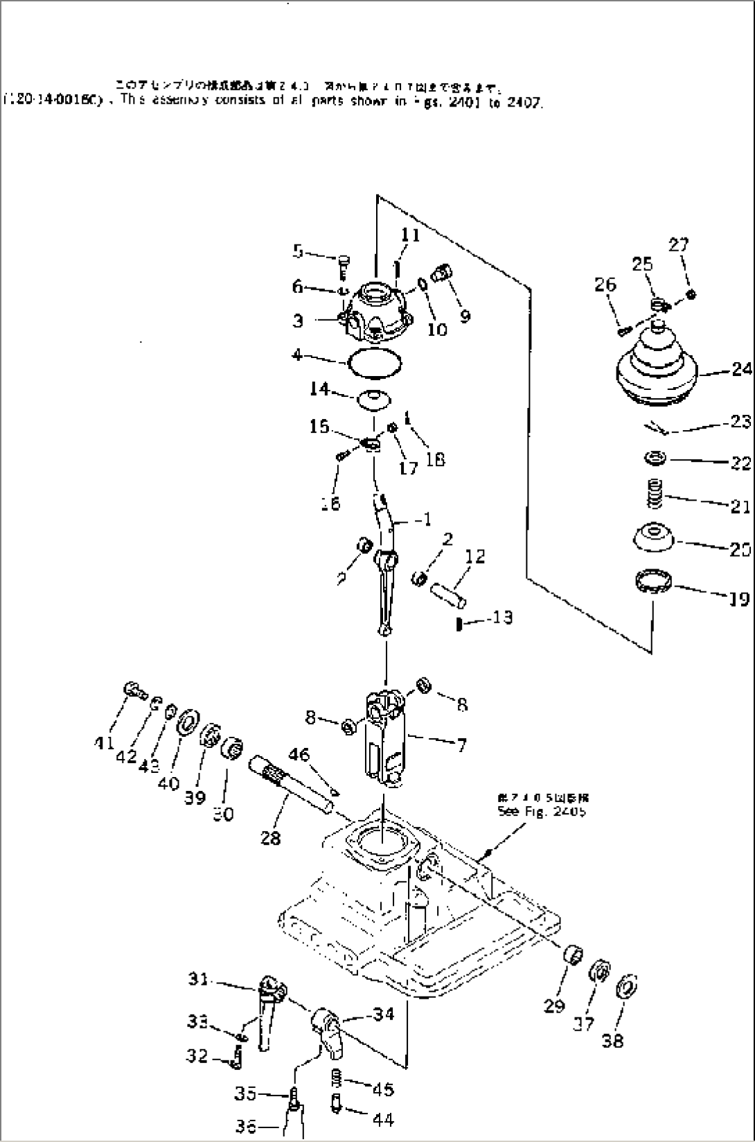
| (120-14-00010) | TRANSMISSION ASS'Y | 10001- | ||
| THIS ASSEMBLY CONSISTS OF ALL PARTS SHOWN IN FIGS.2401 TO 2407. | ||||
| 1 | 120-14-35240 | LEVER | 10001- | |
| 2 | 06120-01612 | BEARING,NEEDLE | 10001- | |
| 3 | 141-14-32711 | ADAPTER | 10001- | |
| 4 | 07000-02100 | O-RING | 10001- | |
| 5 | 01010-31030 | BOLT | 10001- | |
| 6 | 01602-21030 | WASHER,SPRING | 10001- | |
| 7 | 120-14-35222 | GATE | 10001- | |
| 8 | 06120-01612 | BEARING,NEEDLE | 10001- | |
| 9 | 141-14-32721 | SHAFT | 10001- | |
| 10 | 07000-02015 | O-RING | 10001- | |
| 11 | 04025-00432 | PIN,SPRING | 10001- | |
| 12 | 131-14-42630 | SHAFT | 10001- | |
| 13 | 04025-00412 | PIN,SPRING | 10001- | |
| 14 | 141-14-32770 | COVER | 10001- | |
| 15 | 170-14-12630 | CLIP | 10001- | |
| 16 | 150-15-21150 | SCREW | 10001- | |
| 17 | 150-15-21140 | NUT | 10001- | |
| 18 | 04050-01012 | PIN,COTTER | 10001- | |
| 19 | 141-14-32760 | SEAL | 10001- | |
| 20 | 120-14-35560 | COVER | 10001- | |
| 21 | 120-14-35550 | SPRING | 10001- | |
| 22 | 141-14-32780 | WASHER | 10001- | |
| 23 | 04050-05040 | PIN,COTTER | 10001- | |
| 24 | 141-14-32630 | BOOT | 10001- | |
| 25 | 150-14-15260 | CLAMP | 10001- | |
| 26 | 01220-40416 | SCREW | 10001- | |
| 27 | 01580-10403 | NUT | 10001- | |
| 28 | 141-14-32915 | SHAFT | 10001- | |
| 29 | 06120-02216 | BEARING,NEEDLE | 10001- | |
| 30 | 06120-02520 | BEARING,NEEDLE | 10001- | |
| 31 | 120-14-35450 | LEVER | 10001- | |
| 32 | 01010-51240 | BOLT | 10001- | |
| 33 | 01602-21236 | WASHER,SPRING | 10001- | |
| 34 | 120-14-35460 | LEVER | 10001- | |
| 35 | 131-14-43160 | BOLT | 10001- | |
| 36 | 04059-01025 | WIRE,LOCK | 10001- | |
| 37 | 07012-00022 | SEAL,OIL | 10001- | |
| 38 | 141-14-32920 | WASHER | 10001- | |
| 39 | 07012-00025 | SEAL,OIL | 10001- | |
| 40 | 141-14-32860 | WASHER | 10001- | |
| 41 | 01010-50820 | BOLT | 10001- | |
| 42 | 01602-20825 | WASHER,SPRING | 10001- | |
| 43 | 141-14-32850 | WASHER | 10001- | |
| 44 | 144-14-12120 | PLUNGER | 10001- | |
| 45 | 144-14-12130 | SPRING | 10001- | |
| 46 | 04010-00725 | KEY | 10001- |
