
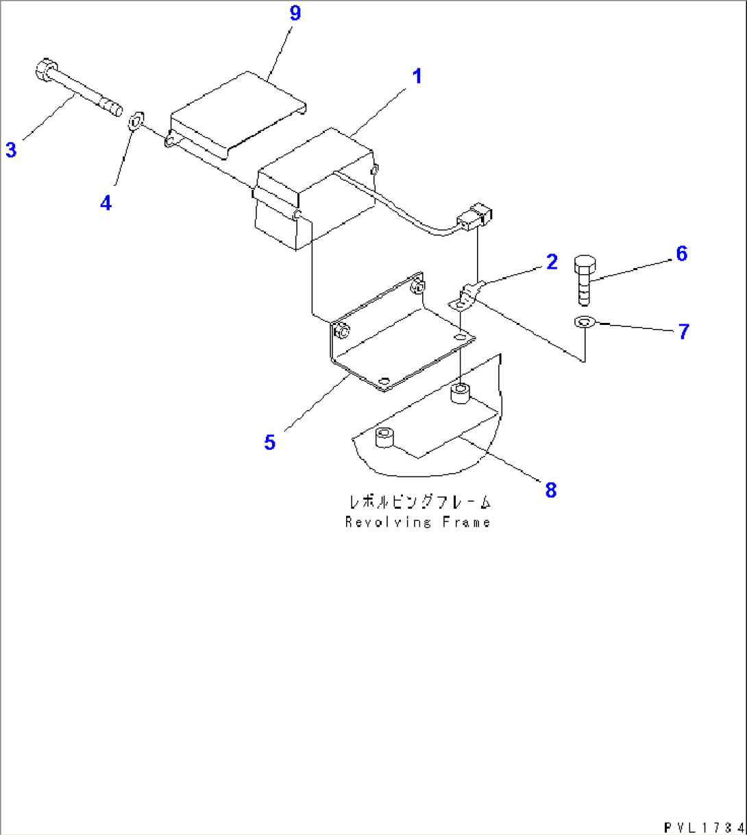
| Item | Part No. | Part Name | Qty | Serial No. |
| 1 | 209-06-71291 | BUZZER | 11053- | |
| 209-06-71290 | BUZZER | 10001-11052 | ||
| 2 | 08053-01512 | CLIP | 10001- | |
| 3 | 01011-81005 | BOLT | 10001- | |
| 4 | 01643-31032 | WASHER | 10001- | |
| 5 | 209-06-71270 | BRACKET | 10001- | |
| 6 | 01010-81240 | BOLT | 10001- | |
| 7 | 01643-31232 | WASHER | 10001- | |
| 8 | 144-947-3490 | SPACER | 10001- | |
| 9 | 209-06-71310 | COVER | 10001- |
