
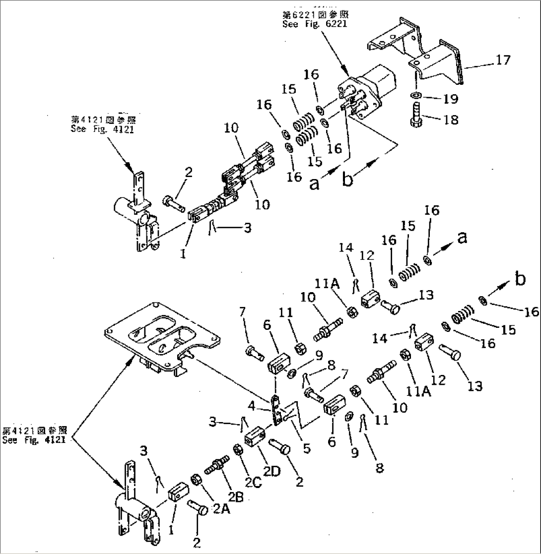
| Item | Part No. | Part Name | Qty | Serial No. |
| G-1 | (\8\207-43-X3000) | CONTROL GROUP | 20001- | |
| ==================== | ||||
| 1 | 207-43-54550 | YOKE | 20021- | |
| 2 | 04205-10822 | PIN | 20064- | |
| 04205-10820 | PIN | 20021-20063 | ||
| 2A | 01580-10806 | NUT | 20021- | |
| 2B | 205-43-72920 | BOLT | 20021- | |
| 2C | 01508-40805 | NUT | 20021- | |
| 2D | 207-43-54560 | YOKE | 20021- | |
| 3 | 04050-12015 | PIN,COTTER | 20001- | |
| 4 | 209-43-51540 | LEVER | 20001- | |
| 5 | 04050-12015 | PIN,COTTER | 20001- | |
| 6 | 205-43-72910 | YOKE | 20001- | |
| 7 | 04205-10822 | PIN | 20064- | |
| 04205-10825 | PIN | 20001-20063 | ||
| 8 | 04050-12015 | PIN,COTTER | 20001- | |
| 9 | 01641-20812 | WASHER | 20064- | |
| 01643-50823 | WASHER | 20001-20063 | ||
| 10 | 04248-30808 | ROD | 20001- | |
| 11 | 01580-10806 | NUT | 20001- | |
| 11A | 01508-40805 | NUT | 20001- | |
| 12 | 205-43-72890 | YOKE | 20001- | |
| 13 | 04205-10622 | PIN | 20001- | |
| 14 | 04050-11612 | PIN,COTTER | 20001- | |
| 15 | 20Y-43-15330 | SPRING | 20001- | |
| 16 | 01641-21223 | WASHER | 20001- | |
| 17 | 207-43-54531 | BRACKET | 20001- | |
| 18 | 01010-51025 | BOLT | 20001- | |
| 19 | 20Y-43-15410 | WASHER | 20001- | |
| ==================== |
