
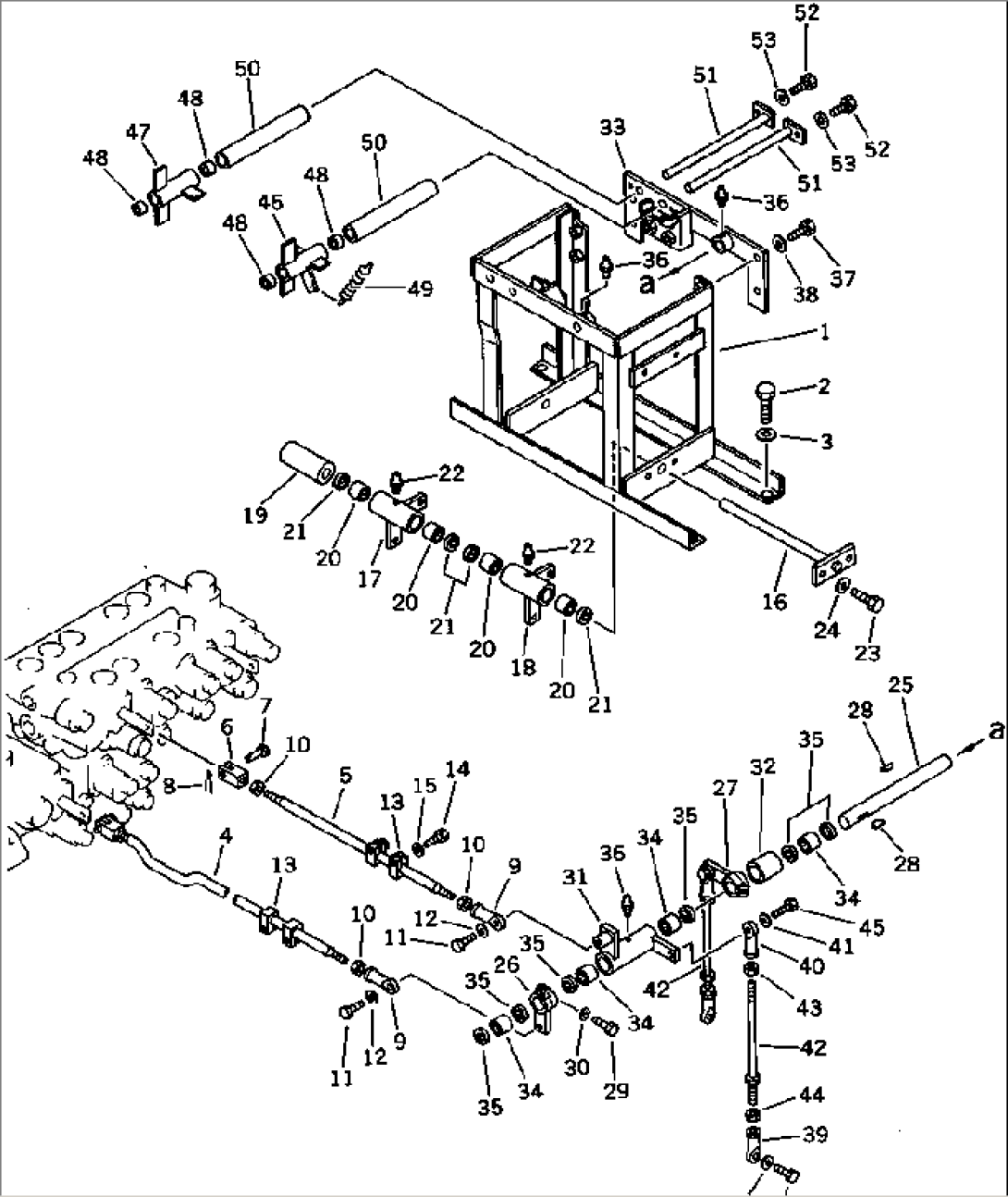
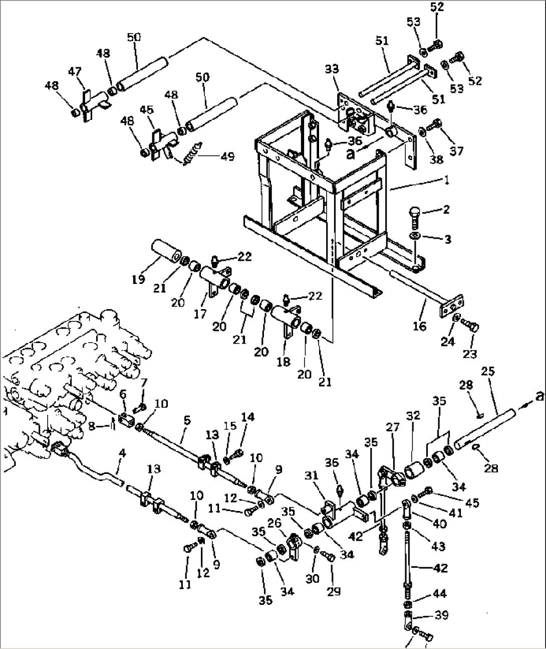
| Item | Part No. | Part Name | Qty | Serial No. |
| 1 | 21K-43-22110 | BRACKET | 3001-@ | |
| 2 | 01010-51225 | BOLT | 3001-@ | |
| 3 | 01643-31232 | WASHER | 3001-@ | |
| 4 | 21K-43-22140 | ROD | 3001-@ | |
| 5 | 21K-43-21110 | ROD | 3001-@ | |
| 6 | 20T-43-22210 | YOKE | 3001-@ | |
| 7 | 04205-10822 | PIN | 3001-@ | |
| 8 | 04050-12012 | PIN,COTTER | 3001-@ | |
| 9 | 04250-41056 | END,ROD | 3001-@ | |
| 10 | 01582-11008 | NUT | 3001-@ | |
| 11 | 01010-51030 | BOLT | 3001-@ | |
| 12 | 01643-31032 | WASHER | 3001-@ | |
| 13 | 203-43-42541 | PLATE | 3001-@ | |
| 14 | 01010-50825 | BOLT | 3001-@ | |
| 15 | 01643-30823 | WASHER | 3001-@ | |
| 16 | 203-43-42950 | SHAFT | 3001-@ | |
| 17 | \3\203-43-42970 | LEVER | 3001-3183 | |
| (203-43-42971,195-61-34130(2)) | ||||
| 18 | \3\203-43-42960 | LEVER | 3001-3183 | |
| (203-43-42961,195-61-34130(2)) | ||||
| 19 | 203-43-43150 | SPACER | 3001-@ | |
| 20 | 06120-02016 | BEARING | 3001-3183 | |
| 21 | 06122-02004 | SEAL,BEARING | 3001-3183 | |
| 22 | 07020-00000 | FITTING,GREASE | 3001-3183 | |
| 23 | 01010-51020 | BOLT | 3001-@ | |
| 24 | 01643-31032 | WASHER | 3001-@ | |
| 25 | 203-43-42980 | SHAFT | 3001-@ | |
| 26 | 203-43-43120 | LEVER | 3001-@ | |
| 27 | 203-43-42990 | LEVER | 3001-@ | |
| 28 | 04010-00519 | KEY | 3001-@ | |
| 29 | 01010-50830 | BOLT | 3001-@ | |
| 30 | 01602-20825 | WASHER,SPRING | 3001-@ | |
| 31 | \3\203-43-43110 | LEVER | 3001-3183 | |
| (203-43-43111,195-61-34130(2)) | ||||
| 32 | 203-43-43180 | SPACER | 3001-@ | |
| 33 | 203-43-43140 | BRACKET | 3001-@ | |
| 34 | 06120-02016 | BEARING | 3001-3183 | |
| 35 | 06122-02004 | SEAL,BEARING | 3001-3183 | |
| 36 | 07020-00000 | FITTING,GREASE | 3001-3183 | |
| 37 | 01010-51025 | BOLT | 3001-@ | |
| 38 | 01643-31032 | WASHER | 3001-@ | |
| 39 | 04250-81056 | END,ROD | 3001-@ | |
| 40 | 04250-91056 | END,ROD, L.H. THREAD | 3001-@ | |
| 41 | 04254-01032 | SPACER | 3001-@ | |
| 42 | 04248-31028 | ROD | 3001-@ | |
| 43 | 01508-21006 | NUT,L.H. THREAD | 3001-@ | |
| 44 | 01582-11008 | NUT,L.H. THREAD | 3001-@ | |
| 45 | 01010-51030 | BOLT | 3001-@ | |
| 46 | 203-43-42551 | LEVER,L.H. | 3001-@ | |
| 47 | 203-43-42561 | LEVER,R.H. | 3001-@ | |
| 48 | 203-43-31420 | BUSHING | 3001-@ | |
| 49 | 203-43-43230 | SPRING | 3001-@ | |
| 50 | 203-43-43190 | SPACER | 3001-@ | |
| 51 | 203-43-42530 | SHAFT | 3001-@ | |
| 52 | 01010-51016 | BOLT | 3001-@ | |
| 53 | 01643-31032 | WASHER | 3001-@ |
