Ваш браузер устарел. Этот сайт может работать неполноценно или выглядеть сломанным. Обновите ваш браузер, если можете.
Наличие
Каталог запчастей
Контакты
+7 (423) 222-39-13
sharahov.komdir@vladremsnab.ru
Обратная связь
RU
EN
Наличие
Каталог запчастей
Контакты
+7 (423) 222-39-13
sharahov.komdir@vladremsnab.ru
RU
EN
Обратная связь
Главная
Каталог запчастей
Самосвалы
Afe47 cn 730e s/n a30318 a30322 (curragh mining)
Options & miscellaneous group
Vent valve assembly (la0598)
Поиск по каталогу
Найти!
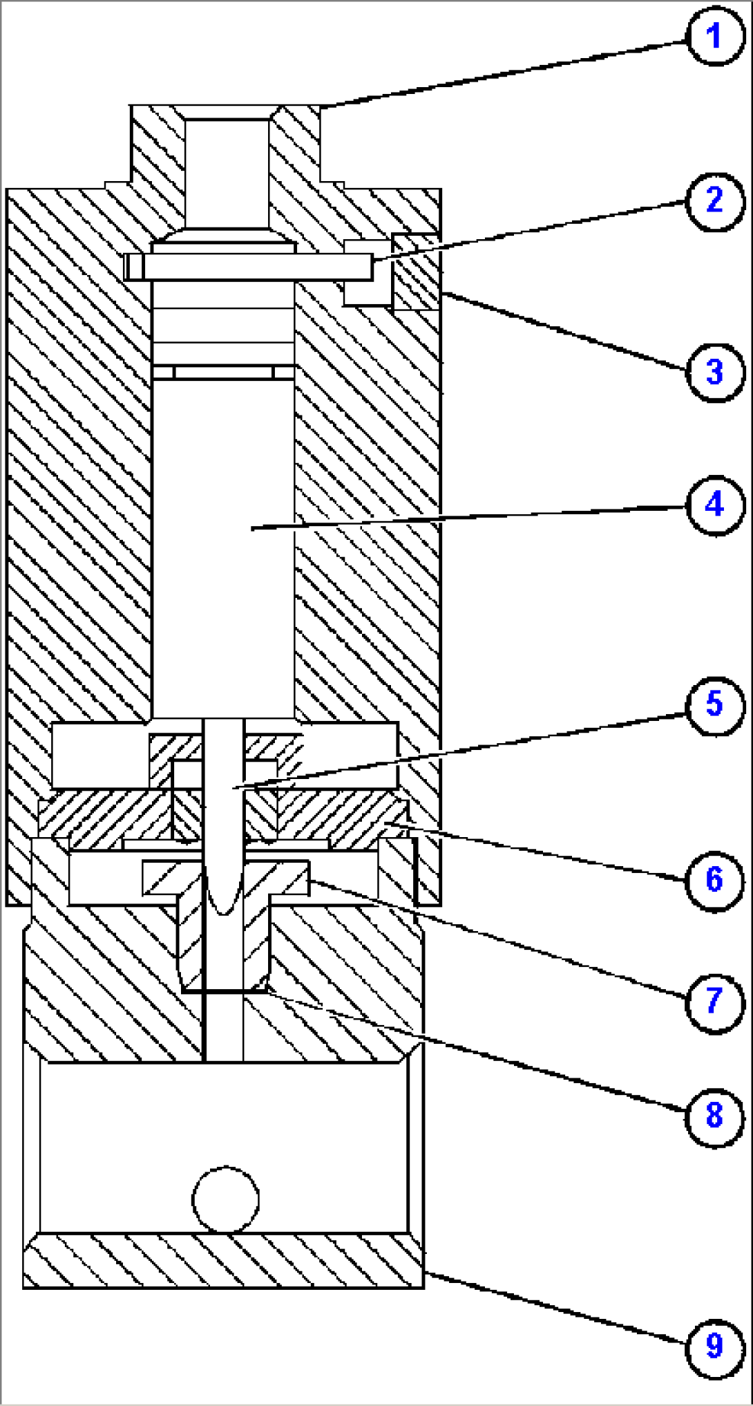
VENT VALVE ASSEMBLY (LA0598)
Item
Part No.
Part Name
Qty
Serial No.
1
LA0643
CYLINDER
2
LA0644
PIN
3
LA0661
PLUG
4
LA0642
PISTON
5
VJ8523
NEEDLE
6
LA0641
PACKING
7
VJ8524
SEAT
8
LA0662
GASKET
9
BODY (NOT SERVICED SEPARATELY)
Вернуться в каталог
Оформить заказ
auto
light
dark
Заявка
Имя
Телефон
Эл. почта
Товары в корзине:
Сообщение
Нажимая кнопку «Отправить», вы соглашаетесь с
пользовательским соглашением
и
политикой конфеденциальности
Отправить
Обратная связь
Имя
Телефон
Эл. почта
Сообщение
Нажимая кнопку «Отправить», вы соглашаетесь с
пользовательским соглашением
и
политикой конфеденциальности
Отправить