
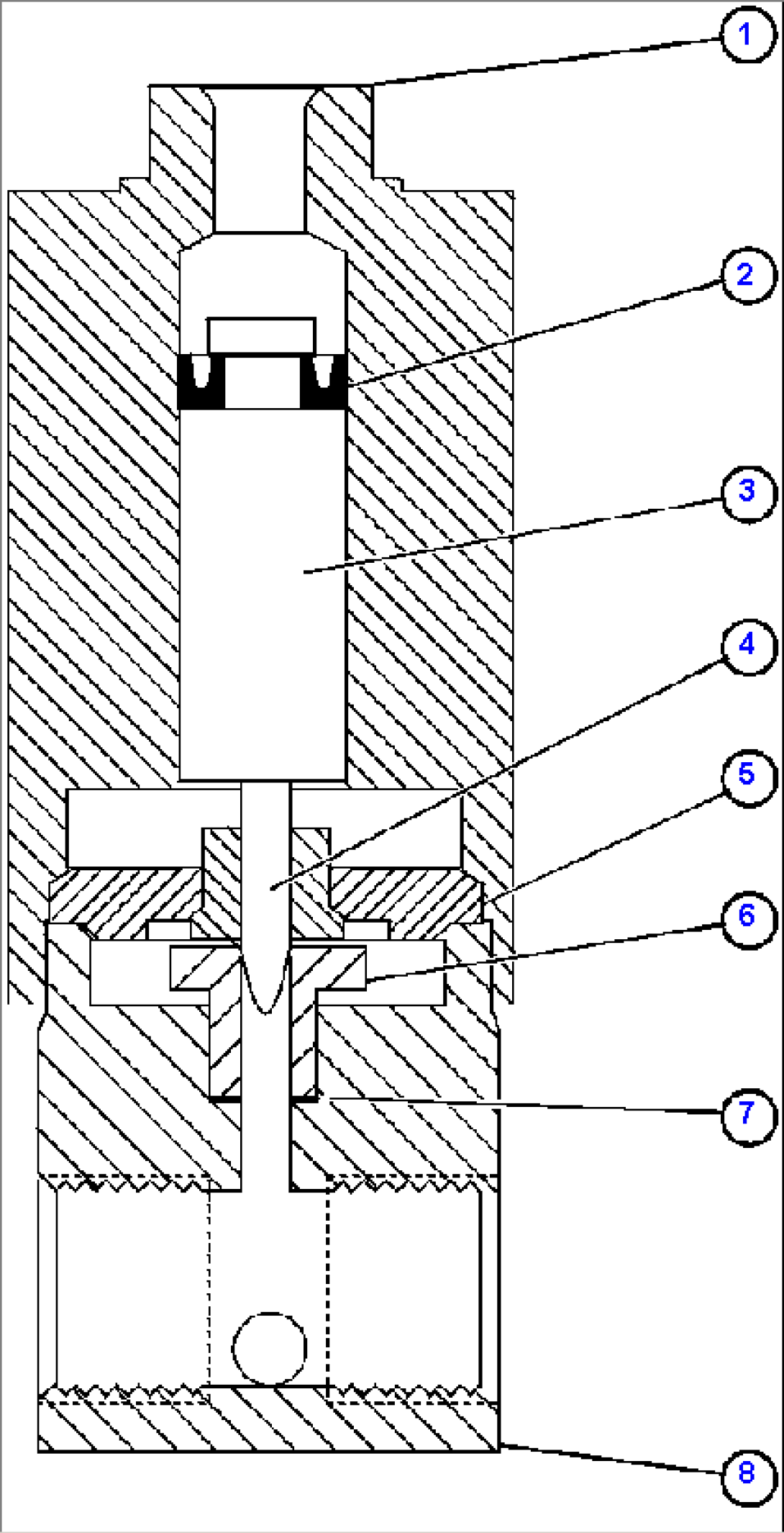
| Item | Part No. | Part Name | Qty | Serial No. |
| 1 | BF5431 | CYLINDER | ||
| 2 | LA0914 | U-CUP | ||
| 3 | BF5432 | PISTON | ||
| 4 | VJ8523 | NEEDLE | ||
| 5 | LA0641 | PACKING, VALVE | ||
| 6 | VJ8524 | SEAT, VAVLE | ||
| 7 | LA0662 | GASKET | ||
| 8 | BF5433 | BODY |

| Item | Part No. | Part Name | Qty | Serial No. |
| 1 | BF5431 | CYLINDER | ||
| 2 | LA0914 | U-CUP | ||
| 3 | BF5432 | PISTON | ||
| 4 | VJ8523 | NEEDLE | ||
| 5 | LA0641 | PACKING, VALVE | ||
| 6 | VJ8524 | SEAT, VAVLE | ||
| 7 | LA0662 | GASKET | ||
| 8 | BF5433 | BODY |