
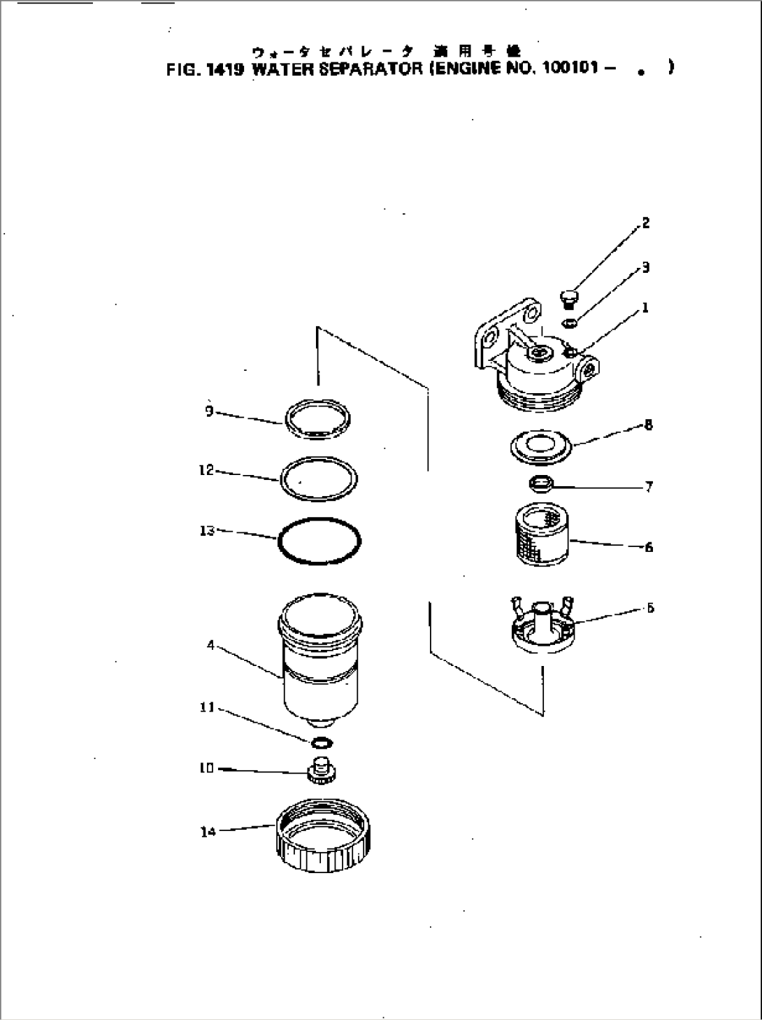
| Item | Part No. | Part Name | Qty | Serial No. |
| 600-311-9900 | WATER SEPARATOR A. | 100101-. | ||
| 1 | 600-311-9910 | COVER | 100101-. | |
| 2 | 6110-73-6231 | PLUG | 100101-. | |
| 3 | 07005-00812 | GASKET | 100101-. | |
| 4 | 600-311-9920 | CASE | 100101-. | |
| 5 | 600-311-9940 | PLATE,BAFFLE | 100101-. | |
| 6 | 600-311-9970 | SCREEN | 100101-. | |
| 7 | 600-311-9960 | GASKET | 100101-. | |
| 8 | 600-311-9980 | PLATE | 100101-. | |
| 9 | 600-311-9950 | RING | 100101-. | |
| 10 | 600-311-9860 | PLUG,DRAIN | 100101-. | |
| 11 | 600-311-9870 | O-RING | 100101-. | |
| 12 | 600-311-9990 | GASKET | 100101-. | |
| 13 | 07000-02075 | O-RING | 100101-. | |
| 14 | 600-311-9930 | NUT,RING | 100101-. |
