
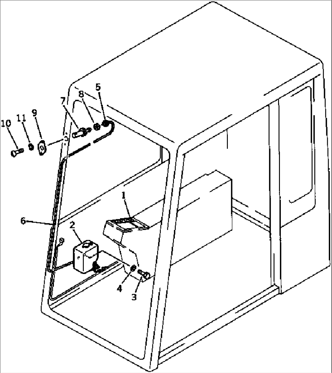
| Item | Part No. | Part Name | Qty | Serial No. |
| 1 | 205-06-71690 | SWITCH ASS'Y | 12001- | |
| 2 | 206-06-15230 | TANK | 12001- | |
| 3 | 01010-50612 | BOLT | 12001- | |
| 4 | 01643-30623 | WASHER | 12001- | |
| 5 | 201-54-22890 | GROMMET | 12001- | |
| 6 | 205-06-71470 | HOSE | 12001- | |
| 7 | 205-06-61220 | NOZZLE ASS'Y | 12001- | |
| 8 | 205-06-71610 | NUT | 12001- | |
| 9 | 205-06-71590 | BRACKET | 12001- | |
| 10 | 01220-40412 | SCREW | 12001- | |
| 11 | 01601-20410 | WASHER,SPRING | 12001- |
