
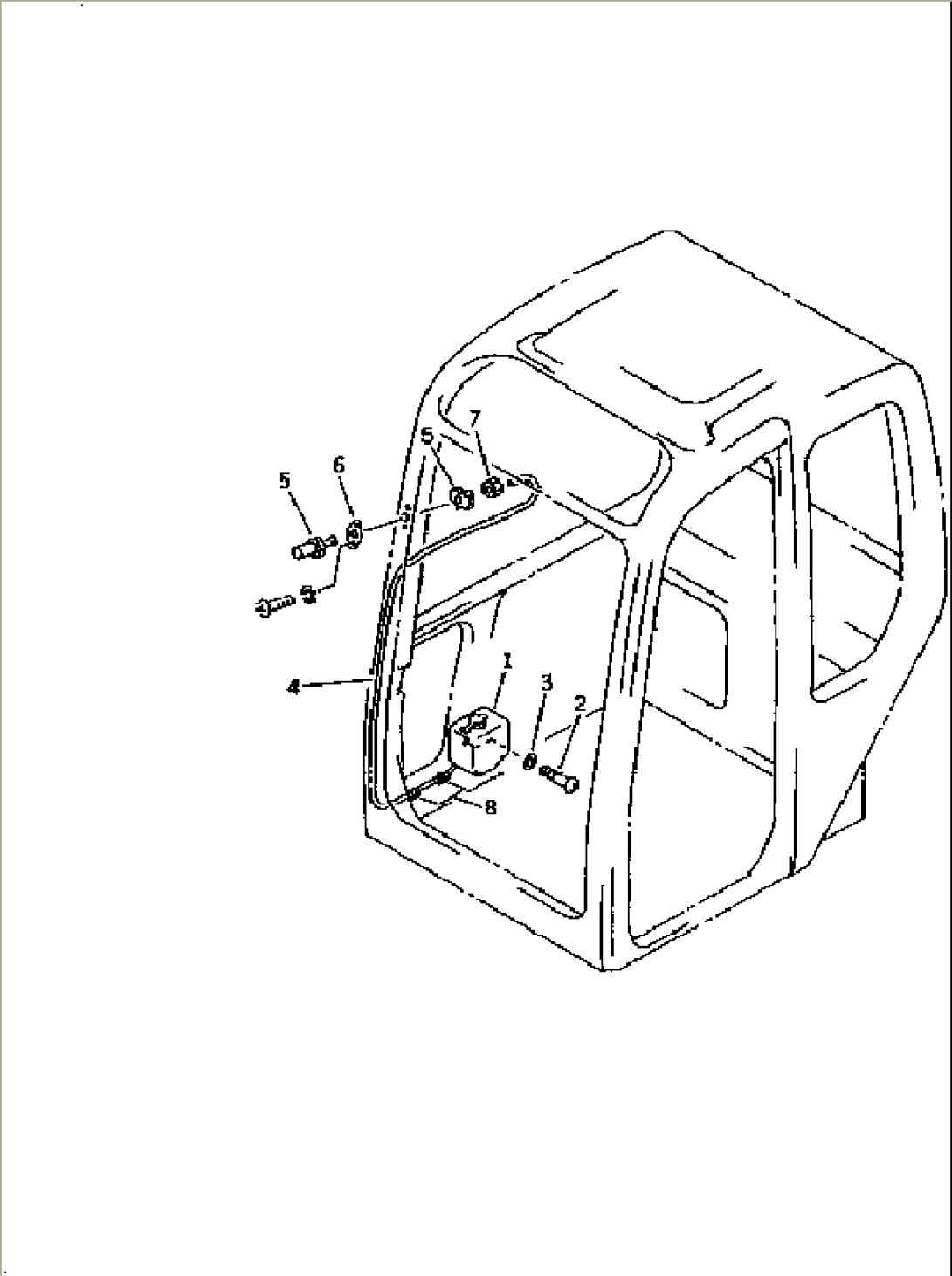
| Item | Part No. | Part Name | Qty | Serial No. |
| 1 | 20T-54-75220 | WASHER TANK ASS'Y | 35001- | |
| 2 | (01220-40612) | SCREW | 35001- | |
| 3 | (01643-30623) | WASHER | 35001- | |
| 4 | 205-06-71470 | HOSE | 35001- | |
| 5 | 205-06-61220 | NOZZLE ASS'Y | 35001- | |
| 6 | 205-06-71590 | BRACKET | 35001- | |
| 7 | 205-06-71610 | NUT | 35001- | |
| 8 | 08051-00801 | CLIP | 35001- |
